爱股网
手机访问
|
DDX指标说明
|
综合选股
|
收藏本站
|
存到桌面
|
设为主页
首页
沪深DDE
上海DDE
深圳DDE
创业板
板块DDE
实时DDX
大盘DDE
超赢决策
资金在线
超赢数据
千股千评
机构评级
盈利预测
股票行情
F10资料
最新消息
限售解禁
概念题材
十大股东
财务分析
龙虎榜
资金流向
大盘BBD
新股申购
股吧
查询个股最新新闻
当前位置:
爱股网
>
股票新闻
> 正文
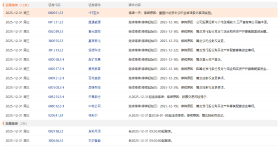
12月31日盘前停复牌汇总
时间:2025年12月31日 08:49
上证报中国证券网讯 12月31日,3家公司临停:
*ST亚太
、
天普股份
、
格利尔
,2家公司复牌:
友邦吊顶
、
东杰智能
。
查看更多
董秘问答
>>
热门新闻
>>>查看更多:
股市要闻
免责条款:本站所有文章、数据、图片均来自互联网或网友提供,仅供参考,广告均与本站无关!股市有风险,入市须谨慎!
爱股网
ddx查询
ddx指标
ddx即时在线更新
上海DDE
深圳DDE
创业板DDE
板块DDE
超赢截图
超赢决策
大盘BBD
股票行情
资金在线
板块资金
个股资金
实时选股
股票代码
copyright@2010 www.igu888.com
爱股网
提供技术支持