1、瀚川智能:与时代骐骥纠纷达成调解,另两起诉讼正协商
2、荣耀“一种视频解码方法和电子设备”专利获授权
3、大普微电子“基于TCAM集群的共享处理器、数据处理方法及系统”专利获授权
4、深南电路“一种电路板的制作方法及其电路板”专利获授权
5、TCL华星“一种薄膜晶体管及其制作方法”专利获授权
1、瀚川智能:与时代骐骥纠纷达成调解,另两起诉讼正协商

12月2日,瀚川智能发布《关于收到调解书暨诉讼进展的公告》,披露其与时代骐骥数字科技(上海)有限公司(以下简称“时代骐骥”)的买卖合同纠纷案件已达成调解并收到法院民事调解书,同时公布了与宁德时代新能源科技股份有限公司(以下简称“宁德时代”)及其子公司相关诉讼的最新进展。
资料显示,时代骐骥的唯一股东为宁普时代电池科技有限公司,而宁普时代又是宁德时代持股超94%的子公司。
据悉,瀚川智能为维护自身合法权益及股东利益,曾以时代骐骥及宁普时代电池科技有限公司(以下简称“宁普时代”)为被告,向江苏省苏州工业园区人民法院提起诉讼。
诉讼过程中,瀚川智能申请撤回对宁普时代的起诉,时代骐骥则提起反诉,反诉金额合计8,323,600元,法院予以受理并合并审理。经江苏省苏州工业园区人民法院主持调解,双方自愿达成调解协议,核心内容如下:
· 时代骐骥同意在2025年12月30日前向瀚川智能支付货款5,034,800元;
· 瀚川智能就案涉订单自愿放弃剩余货款及违约责任的主张,其余诉请亦自愿放弃;
· 时代骐骥自愿撤回全部反诉诉请,就反诉诉请以及本案所涉订单均不再向瀚川智能主张任何权利;
· 上述给付完成后,双方就本案再无其余纠葛;
· 本诉案件受理费减半收取46,830元、保全费5,000元,合计51,830元,由瀚川智能负担28,415元、时代骐骥负担23,415元,时代骐骥应负担款项需于2025年12月30日前给付瀚川智能。
公告指出,截至2025年半年度,瀚川智能已根据企业会计准则对该应收账款计提坏账准备约175.41万元。
除上述案件外,公告还披露了瀚川智能与宁德时代及其子公司时代电服科技有限公司(简称“时代电服”)的买卖合同纠纷进展。此前,瀚川智能诉时代电服的两起案件【(2025)闽0212民初3874号】和【(2025)闽0203民初16169号】因管辖权异议,已另行移交福建省宁德市蕉城区人民法院起诉(案号:(2025)闽0902民初4689号);同时,公司申请仲裁宁德时代的案件(案号:(2025)榕仲受523号)均已立案并开庭审理。
庭审过程中,时代电服和宁德时代分别提起反诉:时代电服反诉请求公司退还货款1,200,060元及违约金、律师费;宁德时代反诉请求解除订单、退还货款4,830,750元、支付违约金5,904,250元、赔偿损失4,275,684.02元及律师费、仲裁费。目前,上述两起案件正在协商调解中,后续诉讼结果尚存在不确定性,暂时无法预计对公司本期及期后利润的影响。
2、荣耀“一种视频解码方法和电子设备”专利获授权
天眼查显示,荣耀终端股份有限公司近日取得一项名为“一种视频解码方法和电子设备”的专利,授权公告号为CN119277100B,授权公告日为2025年10月17日,申请日为2024年1月31日。

本申请提供了一种视频解码方法和电子设备,涉及视频数据处理技术领域,用于在电子设备使用一键大片功能对待分析素材视频进行分析时,提高对待分析素材视频的解码效率。该方法包括:电子设备获取待分析素材视频的第一编码格式和第一媒体参数(即视频参数)后,在确定存在处于工作状态,且解码参数与待分析素材视频的视频参数相同的第一解码器。时,可以直接使用第一解码器对待分析素材视频解码。如果电子设备中不存在第一解码器,则电子设备在确定存在处于空闲状态,且编码格式与第一编码格式相同的第二解码器时,电子设备将第二解码器的媒体参数设置为第一媒体参数后,启用第二解码器对待分析素材视频解码。
3、大普微电子“基于TCAM集群的共享处理器、数据处理方法及系统”专利获授权
天眼查显示,深圳大普微电子股份有限公司近日取得一项名为“基于TCAM集群的共享处理器、数据处理方法及系统”的专利,授权公告号为CN119988260B,授权公告日为2025年10月17日,申请日为2024年12月31日。

本申请实施例涉及数据处理技术领域,公开了一种基于TCAM集群的共享处理器、数据处理方法及系统,共享处理器包括:输入管理单元、输出管理单元、控制单元、TCAM集群,TCAM集群包括多个TCAM单元,其中,控制单元解析接口处的控制信息,并将解析后的控制信息传递到输入管理单元和输出管理单元,输入管理单元和输出管理单元分别连接多组外设的输入、输出接口。通过输入管理单元将多组外设(接口)依据其输入的控制信息,将搜索键转接至对应的TCAM单元,获得匹配信息,通过输出管理单元将多个TCAM依据其控制信息,将TCAM输出的匹配信息做整合,得到新的匹配向量,基于新的匹配信息,得到匹配结果,通过动态分配TCAM资源,提高TCAM资源的利用率。
4、深南电路“一种电路板的制作方法及其电路板”专利获授权
天眼查显示,深南电路股份有限公司近日取得一项名为“一种电路板的制作方法及其电路板”的专利,授权公告号为CN115551203B,授权公告日为2025年10月17日,申请日为2021年6月30日。

本发明公开了一种电路板的制作方法及其电路板,包括步骤S100:在压合半固化片前,测试内层阻抗线的阻抗,得到当前内层阻抗值;S200:根据内层阻抗值和外层阻抗值的对应关系,得到外层预测阻抗值;S300:根据外层预测阻抗值判断当前内层阻抗值是否需要修正;若是,则修正当前内层阻抗线的阻抗;若否,则不修正当前内层阻抗线的阻抗。本发明的电路板的制作方法可以及时对内层阻抗进行修正调整,提高合格率,降低成本,避免不合格的电路板报废问题。
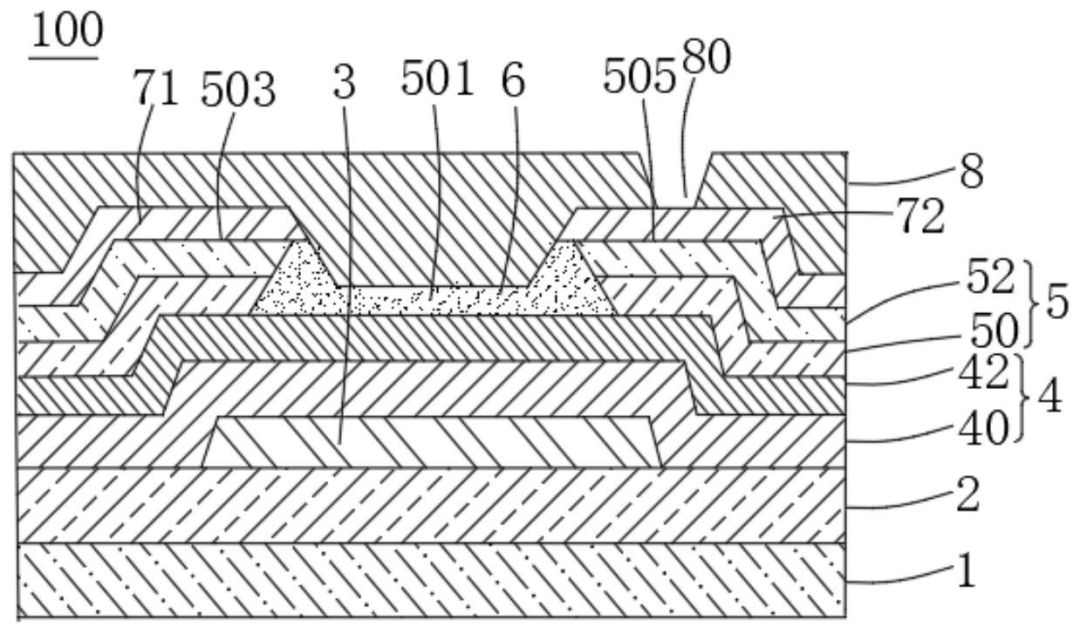
5、TCL华星“一种薄膜晶体管及其制作方法”专利获授权
天眼查显示,TCL华星光电技术有限公司近日取得一项名为“一种薄膜晶体管及其制作方法”的专利,授权公告号为CN114446792B,授权公告日为2025年10月17日,申请日为2022年1月25日。

本申请提供一种薄膜晶体管及其制作方法,其包括步骤:提供基板;在所述基板上形成缓冲层;在所述缓冲层表面形成第一金属层并对所述第一金属层进行图案化处理形成栅电极;在所述栅电极上形成栅极绝缘层;在所述栅极绝缘层上形成有源层,所述有源层包括有未掺杂的非晶硅层及位于所述未掺杂的非晶硅层上的非晶硅掺杂层;对所述有源层的部分区域进行脱氢、结晶处理而生成与所述栅电极位置对应的单晶硅层,所述单晶硅层所在区域定义为沟道区,所述沟道区两侧的区域为源极接触区及漏极接触区;在所述源极接触区、漏极接触区形成位于所述源极接触区表面的源极及位于所述漏极接触区表面的漏极。
>>>查看更多:股市要闻