当前位置: 爱股网 > 股票新闻 > 正文

城建国誉颂超标“送”,少帅杨振鹏扛价有底气

时间:2026年01月21日 18:55

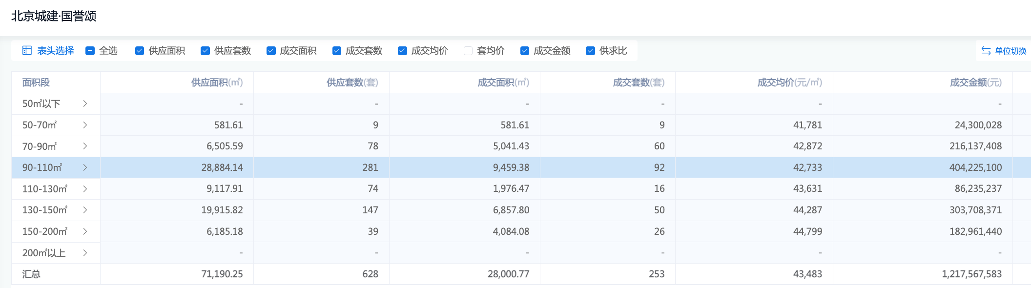
北京进深 徐迪 2025年3月份取证入市的北京城建国誉颂,以12.15亿元的成绩,位列通州单盘成交金额榜TOP7。

全年完成252套网签,成交面积约2.97万㎡,取证房源去化率40%。

与通州几大热门项目相比,流速不算太快,但价格还是非常坚挺的。

成交均价4.35万元/㎡,约为指导价的93折。

部分小户型拉低了整体价格水平,比方本月成交的1套建面约74㎡的非标户型,单价仅有4万出头。

国誉颂项目主力户型为105/125/135/146/157㎡两居三居,销售指导价4.7万/㎡。

其中建面在105㎡面积段的房源共281套,户型占比45%。

目前成交最多的也是这个面积段的房源,总计92套,均价4.27万元/㎡,低于整体均价。

150以及户型虽然只有39套供应,却有26套已完成网签;此外,135/146㎡两个户型也有50套网签。

这三种大户型的成交面积合计有1.09万㎡,成交均价都在4.4万+。

国誉颂位于通州宋庄镇,北京城建2024年9月27日以底价15.96亿元拿地,楼面价约2.07万元/㎡。

开发主体北京城建兴通置业有限公司成立于2024年3月29日,注册资本3000万元,为城建发展(600266.SH)的全资子公司。

城建发展副总经理杨振鹏担任项目公司法人及董事长。

这位年仅40岁的清华大学博士研究生,管理科学与工程专业,2018年起就在城建项目上历练,2022年升任至城建发展副总工程师,一年后坐到了上市公司副总的位置。

他是城建发展最年轻的高管,也是2024年城建发展董监高人员中薪资最高者,看得出颇受总经理邹哲的器重。

对于国誉颂这个建在艺术小镇里的项目,杨振鹏也有自己想法,以绿建二星为基准打造“国誉系”标杆之作。

项目规划19栋9-11层板楼,共686套房,分为南北两区,容积率1.8。

3月3日,北区6008地块的8栋楼取得预售许可证,共316套住宅;

次日,南区6015地块9栋楼取证,共312套。

3月底开盘时,国誉颂就以超100%的得房率震惊京城楼市。

与市面上常见的通面宽阳台形式相比较,国誉颂一部分是开敞阳台,还有一部分报规为挑空平台。

二者的区别是,开敞阳台计一半建面,挑空层全送。

按照好房子技术要点,每户阳台水平投影面积,不大于套内建筑面积的10%,且进深不大于1.8米。

国誉颂显然是超标了的,它每套房的挑空层不止一处,125/146户型分别送了三个挑空层,125户型单是挑空层一项就有将近14㎡的赠送。

105户型的开敞阳台有14㎡之多,约为套内面积的17%

这使得国誉颂的整体赠送尺度,甚至超过了很多顺义新盘。

在住建委备案的楼盘表上,国誉颂一套建面125.86㎡三室两厅户型,套内面积为103.77㎡,产权得房率约82%。

但是粗略计算有将近25㎡的赠送面积,实得率超过了102%

1、北向设备平台3处,0.8米进深:两个卧室各有3.2米面宽,厨房外接的一处约1.4米,总计6.24㎡,全赠送;

2、南向进深1.8米开敞阳台,面宽5.2米,赠送一半面积为4.68㎡;

3、挑空平台有3处,南向主卧外3.7米面宽,次卧外3.1米宽,进深均为1.8米,总计12.24㎡,全赠送;

北向厨房外接一处,与设备平台等深,宽约2米,面积约1.6㎡,全赠送。

赠送面积总计24.76㎡,这部分扩容空间纳入后,套内面积达到128.53㎡,约为建筑面积的102.1%。

相当于公摊全给补上了,额外还赠送了一间小储藏室。

南边那个将近6㎡的挑空平台封进室内,与客厅一角可以隔出来个非常宽敞的卧室。

不夸张的说,这个125户型,做出了新规前项目152户型的空间感。

作为副中心唯一一个拿地即开工的项目,城建国誉颂拿地7个月就实现封顶,8个月便亮相了实景示范区。

所见即所得的实景呈现,为项目加分不少。但在成交表现上,并没有明显的增加。

主要是由于去年下半年以来,通州多个项目集中入市,位置更加核心。

而国誉颂所在的宋庄,定位是艺术小镇,附近商业业态也以艺术馆、美术馆为主。

从当前项目周边的城市界面来看,大量荒地之间的村庄房屋待拆迁,各项规划还需要时间兑现。

南边还有一个在售新盘,建投国贸·瑨上,价格相对更低,也分走了一部分客流。

查看更多董秘问答>>

热门新闻

>>>查看更多:股市要闻