转自:前瞻产业研究院
以下数据及分析来自于前瞻产业研究院人形机器人研究小组发布的《中国人形机器人(仿生人)行业发展前景预测与投资战略规划分析报告》。
行业主要上市公司:目前国内人形机器人行业主要的上市公司有汇川技术(300124.SZ)、三花智控(002050.SZ)、蓝思科技(300433.SZ)、恒立液压(601100.SH)、拓普集团(601689.SH)、领益智造(002600.SZ)、中联重科(000157.SZ)、金力永磁(300748.SZ)等。
本文核心数据:企业主营业务收入、企业毛利率、企业订单量
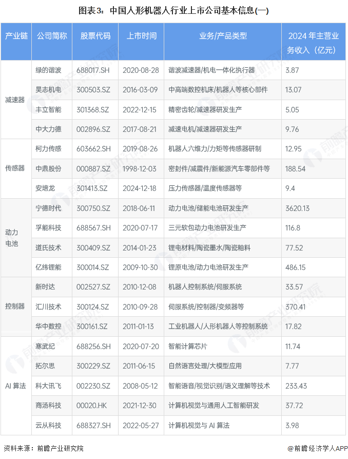
1、中国人形机器人行业上市公司汇总
人形机器人行业是中国经济转型的新引擎,正推动中国制造业向“智造强国”跨越。目前,我国人形机器人行业的上市公司主要有绿的谐波(688017.SH)、昊志机电(300503.SZ)、丰立智能(301368.SZ)、中大力德(002896.SZ)、柯力传感(603662.SH)、中鼎股份(000887.SZ)、安培龙(301413.SZ)、宁德时代(300750.SZ)、孚能科技(688567.SH)、道氏技术(300409.SZ)、亿纬锂能(300014.SZ)、新时达(002527.SZ)、汇川技术(300124.SZ)、华中数控(300161.SZ)、寒武纪(688256.SH)、拓尔思(300229.SZ)、科大讯飞(002230.SZ)、商汤科技(00020.HK)、云从科技(688327.SH)、雷赛智能(002979.SZ)、信捷电气(603416.SH)、步科股份(688160.SH)、江特电机(002176.SZ)、埃斯顿(002747.SZ)、巨轮智能(002031.SZ)、科沃斯(603486.SH)、亿嘉和(603666.SH)、新松机器人(300024.SZ)、博实股份(002698.SZ)、优必选(9880.HK)、均普智能(688306.SH)、赛力斯(601127.SH)、长安汽车(000625.SZ)、上纬新材(688585.SH)、蓝思科技(300433.SZ)。





2、中国人形机器人上市公司业务布局对比
根据中国人形机器人行业上市公司披露的最新业务布局情况,绿的谐波、中大力德等企业打破海外核心零部件的垄断,在减速器、伺服系统等领域实现技术与市占率双突破;整机制造端,优必选以量产突破与大额订单领跑,埃斯顿、新松机器人等依托工业机器人优势跨界布局;商汤科技以大模型技术强化机器人感知与决策能力。区域布局上,人形机器人企业在国内形成长三角、珠三角、东北等产业集群,海外向欧美、东南亚、中东地区延伸,构建全球化研发与市场网络,国产人形机器人产业竞争力持续提升。

3、中国人形机器人上市公司业务业绩对比
根据已披露的数据,蓝思科技凭借精密制造与全球供应链优势,斩获北美及国内头部企业多个重磅订单,以33亿元累计订单量遥遥领先行业;上纬新材子公司智元机器人累计下线5000台人形机器人,蓝思科技预测全年出货3000台,步科股份作为核心部件供应商同步出货4.3万台关节电机,形成上下游协同放量态势。2025年起,越来越多上市公司加速入局,陆续推出自研人形机器人产品,同步开启大规模扩产计划以匹配爆发式增长的市场需求,中国人形机器人行业正式从起步试验阶段迈入技术落地与规模化量产并行的加速期。

4、中国人形机器人上市公司业务规划对比
2025-2027年,中国人形机器人头部企业加速推进规模化布局,整机厂商聚焦工业、仓储等多元场景加速扩容产能,推动人形机器人实现量产交付;核心部件企业密集扩产巩固市占率,深度绑定特斯拉、优必选、智元等头部客户,同时通过技术研发、国际市场拓展与产能升级夯实竞争力,行业全面进入技术落地与规模化量产并行的加速阶段。

更多本行业研究分析详见前瞻产业研究院《中国人形机器人(仿生人)行业发展前景预测与投资战略规划分析报告》
同时前瞻产业研究院还提供产业新赛道研究、投资可行性研究、产业规划、园区规划、产业招商、产业图谱、产业大数据、智慧招商系统、行业地位证明、IPO咨询/募投可研、专精特新小巨人申报、十五五规划等解决方案。如需转载引用本篇文章内容,请注明资料来源(前瞻产业研究院)。
更多深度行业分析尽在【前瞻经济学人APP】,还可以与500+经济学家/资深行业研究员交流互动。更多企业数据、企业资讯、企业发展情况尽在【企查猫APP】,性价比最高功能最全的企业查询平台。
>>>查看更多:股市要闻