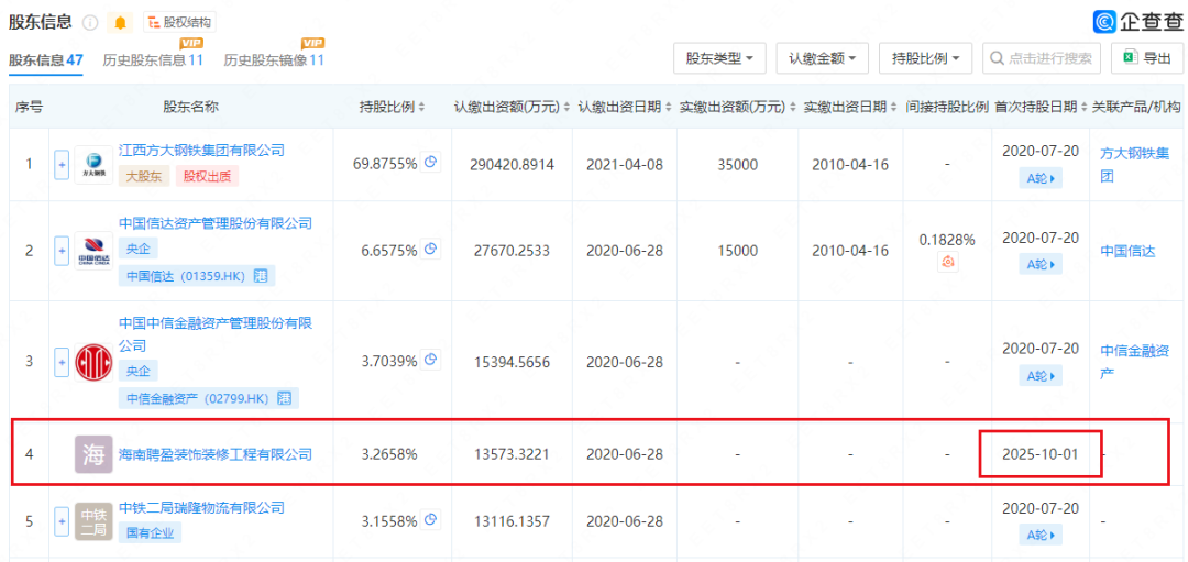
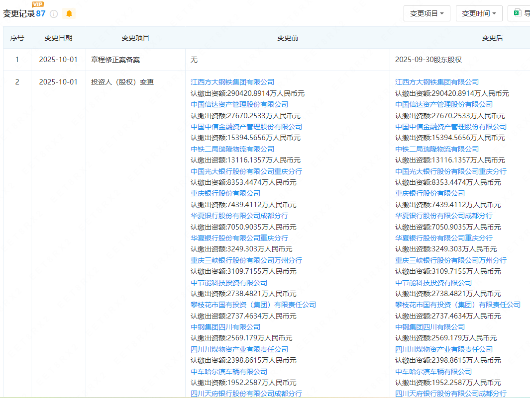
企查查信息显示,2025年10月1日,四川省达州钢铁集团有限责任公司工商变更,海南聘盈装饰装修工程有限公司出资13573.3221万元入股四川省达州钢铁集团有限责任公司,目前占股3.2658%,成为四川省达州钢铁集团有限责任公司第四大股东。




四川省达州钢铁集团有限责任公司系辽宁方大集团下属全资子公司方大钢铁集团的控股子公司,位于四川省达州东部经开区,下辖达兴能源和领航公司等子公司,现有员工5600余人,占地面积6468亩,是我国西部地区重要的优质含钒高强度抗震钢材生产基地。达州钢铁兴建于1958年,2020年5月加入方大集团、2025年4月麻柳镇新厂区建成投产,公司集炼焦、煤化工、烧结、球团、炼铁、提钒、炼钢、轧材及机械加工为一体,产线齐全、装备先进,拥有国家企业技术中心、博士后科研工作站,属国家高新技术企业、国家发改委确定的钒钛资源综合利用重点企业。公司荣获中国冶金产品实物质量“金杯奖”、全国质量诚信先进企业、中国优质建筑用钢品牌、全国重合同守信用企业等荣誉,多次被评为“中国制造业民营企业500强”“四川企业100强”“达州市产业领跑20强民营企业”,是全国和谐劳动关系创建示范企业、四川省拥军优属先进单位。
>>>查看更多:股市要闻