来源:储能严究院

三年3例,中国光伏逆变器龙头出海
频频卷入“知识产权漩涡”。
©图源|德业
文|侦碳
来源|赶碳号科技
2025年8月22日,美国太阳能逆变器制造商CyboEnergy(赛博能源公司 ,以下简称“赛博能源”)在美国加州中央地方法院对Deye Ess Technology USA(德业储能科技美国有限公司)和Ningbo Deye Inverter Technology Co Ltd(宁波德业变频技术有限公司)提起专利侵权诉讼,指控德业的微型逆变器侵犯了其太阳能逆变器的智能、可扩展和用户界面技术相关专利。
该起诉讼案件号为2:25-cv-07964。涉案专利分别为US8786133B2(智能和可扩展的功率逆变器)和US9331488B2(智能和可扩展功率逆变器的外壳和消息系统),涉诉产品包括SUN600G3、SUN800G3、SUN1000G3、SUN1300G3、SUN1600G3和SUN2000G3微型逆变器,统称为“SUN系列微型逆变器”。
截至目前,德业股份尚未披露该起专利诉讼。
01
德业在哪些专利上踩了雷?
此次诉讼涉及两项美国发明专利。
专利1:US9331488B2(以下称’488专利)
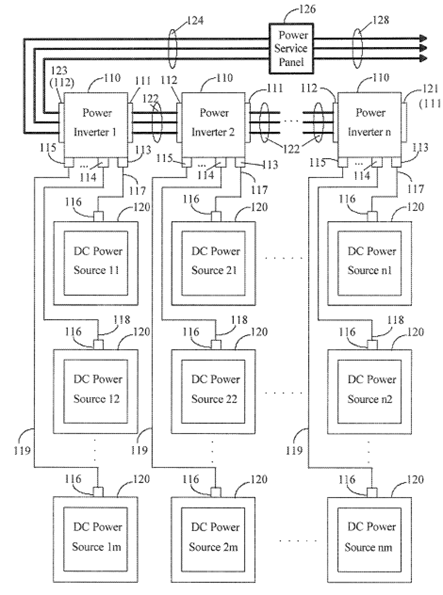
主题为Enclosure and message system of smart and scalable power inverters(太阳能电池连接装置),申请日为2012-06-29,于2016-05-03授权,预计权利到期日为2034-12-17。
该专利的保护范围覆盖多直流通道输入+直流侧集中组合+单级逆变并网的硬件架构,以及集成多通道MPPT、电网同步、PLC通信、状态指示的软件控制逻辑,形成了 “多源集成、高效转换、智能控制” 的完整技术方案;其核心创新点在于 “多直流输入通道的集中式处理与集成控制”。

US9331488B2附图
专利2:US8786133B2(以下称’113专利)
主题为Smart and scalable power inverters(智能和可扩展的功率逆变器),申请日为2010-07-15日,于2014-07-22授权,预计到期日为2032-06-07。
该专利的保护范围覆盖级联式电力拓扑、多级能量转换、自适应控制、电力线通信、安全隔离五大技术,形成了从硬件到软件的系统性创新,为分布式能源并网提供了高效、可靠的解决方案。其核心创新点在于菊花链拓扑结构与多功能集成逆变器设计的结合。
该专利主要解决的技术问题是:光伏太阳能发电系统中传统的集中式DC-AC逆变器容易出现故障、占用空间大、发热和噪音过大、成本高昂,且受太阳能组件性能和遮光不均匀的影响,导致发电效率低下和发电效率低下、安装成本高等问题。
该专利方案的效果是:可轻松扩展,最大限度地减少逆变器故障造成的停机时间,并在模块性能不一致的情况下优化发电,从而增强太阳能发电的可扩展性、灵活性和效率,同时降低安装成本和发热量。

US8786133B2专利附图
02
专利诉讼
会影响到德业哪些产品?

相关法院公告(起诉书附文末)
德业股份是一家全球化新能源科技企业,成立于2000年8月4日。
公司从注塑件、模具、钣金件及除湿机等产品的生产起步,逐渐涉足家用空调热交换器和电路控制领域。旗下拥有全系列光伏逆变器、储能电池包、以除湿机为代表的环境电器及热交换器四大核心产业链。
在光伏逆变器领域,有组串逆变器、储能逆变器、微型逆变器等产品,其应用储能逆变器出货量位居全球第二。
本次被诉侵权的产品包括SUN600G3、SUN800G3、SUN1000G3、SUN1300G3、SUN1600G3和SUN2000G3微型逆变器,统称为“SUN系列微型逆变器”。
根据德业网站介绍:Deye微型逆变器功率范围从300W到2000W,并具有220V/230V/127V不同的输出电压。支持WIFI/PLC/Zigbee多种通讯方式。由于 MECD,通信网关,微型逆变器可以远程和立即关闭。与串式逆变器相比,微型逆变器可以为独立的 MPPT 设计获取每个面板的最大功率。此外,它还为您提供模块级监控,使运维更容易。

来自德业变频技术国际站
德业的官方网站没有展示涉诉的几款产品,但目前的两款微型逆变器SUN-M60/80/100G4、SUN-M130/160/180/200/220G4产品应该是涉诉产品G3的升级款,均具有远程平台、快速关机,内置WIFI等功能;不过目前各大销售网站还是可以查到这几款产品的信息。


03
发难者究竟何方神圣?
德业专利诉讼案的对手——CyboEnergy,究竟是谁,有何来头呢?
根据起诉状的内容显示,CyboEnergy是特拉华州的一家公司,其主要营业地位于加利福尼亚州的萨克拉门托,CyboEnergy 是世界上第一个太阳能微型逆变器CyboInverter 的开发商,具有中央逆变器和微型逆变器的关键优点。
CyboInverter提供并网、离网、并网/离网、双输出离网和交流辅助离网功能 。CyboEnergy 独特的专利无电池离网 CyboInverters 用于电热水器、光伏空调和交流辅助离网,可以帮助解决电网“鸭子曲线”问题并改变太阳能行业的格局。


来自赛博能源官网

CyboInverters产品外观图
CyboEnergy声称CyboInverter是一个系列产品,是一款获得专利且屡获殊荣的太阳能微型逆变器,兼具中央逆变器和微型逆变器的核心优势。该产品提供并网式、离网式、混合式及双输出离网式CyboInverter产品,销售地区包括美国、加拿大、中国、欧洲、印度以及多个非洲国家。
值得注意的是,CyboEnergy在美国具有较高的诉讼倾向,2025年8月13日,其在德克萨斯州西区法院已经对美国的公司YOTTA Energy提起专利侵权诉讼(1:25-cv-01300),指控其侵犯了两项与太阳能微型逆变器技术和智能电源逆变器系统相关的美国专利US9331489B2和US9331488B2。
其中,US9331488B2也是本次用于起诉德业的专利,根据调查,这件专利还被赛博能源在2024年分别用于起诉Duracell Power Center, LLC、HHome Depot U.S.A., Inc.,可见这件专利是属于高价值专利,该专利仅在美国申请,并没有在中国布局。
04
赛博能源的诉讼请求
赛博能源称,德业股份向加利福尼亚州全境销售并提供产品及服务,明知其侵权方法或工艺将在加州及本司法辖区流通,仍将其引入商业流通领域。CyboEnergy称,Deye ESS Technology USA Inc.及其附属公司维护、运营、制造、销售并提供电力逆变器,侵犯了其专利权。
赛博能源指控德业股份,不仅指导客户及相关公司客户如何使用其产品服务,还通过提供产品手册、宣传册、视频演示、现场演示及网站推广等信息支持,诱导用户购买并使用被告方的侵权产品/系统(如逆变器)及相关服务,这些行为已构成对赛博能源两项专利的直接或等同侵权。
因此,CyboEnergy向法院提起如下诉求:
a.判定被告侵犯涉案专利权利要求;
b.颁发原告足以补偿其因被告侵权而遭受损失的损害赔偿,金额不得低于合理使用费或利润损失,并包含判决前利息、判决后利息及诉讼费用;
c.针对未在庭审中提出的侵权行为作出赔偿认定,并由法院对相关侵权行为追加损害赔偿;
d.根据《美国法典》第35编第285条裁定本案为“特殊案件”,并判付原告本次诉讼产生的律师费、开支及费用;
e.若原告能证明被告存在故意或蓄意侵权行为,则认定被告侵权行为具有故意性,将损害赔偿金(含律师费、开支及费用)提高三倍,并根据《美国法典》第35编第284条增加损害赔偿金额;
f.针对未来侵权行为作出禁令裁决,包括(i)向被告及其代理人、雇员、关联公司、分支机构、子公司以及与被告存在合作关系的相关方颁发永久禁令。
05
德业是否真的构成了专利侵权?
根据对涉诉信息的分析来看,赛博能源的两项技术该涉及太阳能逆变器,它将太阳能电池板的直流电 (DC) 转换为适合电网使用的交流电 (AC),重点是模块化、多输入系统。
赛博能源认为德业侵犯了专利1-US9331488B2的权利要求1-17中的一项或多项的权利,侵犯了专利2-US8786133B2权利要求1-24中的一项或多项权利。
然而根据赛博能源提交的诉状来看,其没有提供足够的细节来分析 SUN 系列微型逆变器的具体技术架构、接线方法、用户界面或诊断功能。它也没有对产品的市场地位或商业成功提出具体指控。
因此,德业是否侵权还存在如下可能的争议点:
关键问题1是架构等效性问题,被指控的微型逆变器是否实现了 '133 专利要求的特定输入到输出“菊花链”交流连接架构,或者它们是否使用可能超出权利要求范围的不同并联布线方法?
关键问题2是功能范围的认定:被指控产品上的用户界面是否构成一个“消息系统”,能够为整个逆变器及其每个单独的输入通道提供不同的状态指示,正如 '488 专利中所引用的那样?
综合来看,由于起诉缺乏具体的证据,那么赛博能源可提供用于证明被指控的逆变器,包含所主张的独立索赔中引用的众多且特定的内部硬件和软件组件,将成为本案的核心点。德业的SUN系列微型逆变器是否真的侵犯赛博能源的两项专利权,还需要更多产品技术细节与专利特征的具体分析才能得出结论。
06
禾迈股份
是如何与赛博能源和解的?
2023年6月27日,赛博能源向美国德州东区法院提起诉讼,指控杭州禾迈电力电子股份有限公司(HOYMILES POWER ELECTRONICS USA, INC.)侵犯了其两项专利技术。原告是位于加利福尼亚州的清洁能源领域企业,被告则是中国杭州的一家从事光伏逆变器等产品研发、制造与销售的国家高新技术企业。
涉案专利有两项:US8,786,133(智能和可扩展的电源逆变器)和US9,331,489(通过太阳能微型逆变器最大限度地发挥太阳光下的电力生产)。
赛博能源指控禾迈股份通过运营、制造、使用、提供销售、销售等方式直接侵犯了这两项专利中至少一个或多个权利要求。
原告提出的诉讼请求包括:确认被告侵犯了涉案专利的权利要求;判决被告赔偿原告因侵权造成的损失;核算未在审判中提出的侵权行为并追加赔偿;宣布本案为"特殊案件"并判决被告承担本诉讼中的律师费、费用和成本;宣布被告的侵权行为为故意侵权并对损害赔偿金等进行三倍赔偿;针对未来的侵权行为颁布永久禁令或根据未来侵权情况颁布三倍赔偿金等。
2024年3月,该起诉讼的直接侵权索赔被驳回,因为专利权人没有指控被告本身,而只是指控被告的客户实施了所有主张的侵权。
法院批准了关于直接侵犯133号专利以及诉前间接故意侵犯两项专利的驳回动议,但驳回了所有其他方面的动议。法院允许原告修改诉状。
Hoymiles USA于2024年6月27日提交了一份当事人复审 (IPR2024-01106),以质疑CyboEnergy专利的有效性。

美国当地法院公告
美国当地法院的公告显示,2024 年10月23日,在专利审判与上诉委员会(以下简称 “委员会”)当日批准后,双方当事人提交了《联合终止程序动议》(文件编号:第 8 号,以下简称 “动议”)。随同该动议,双方还提交了保密文件《许可与和解协议》(以下简称 “协议”,附件编号:1011)的副本。此外,双方当事人亦提交了《联合将和解协议列为商业机密信息动议》(文件编号:第 9 号)。
法院批准双方当事人提交的《联合终止程序动议》(文件编号:第 8 号),驳回请求书,并终止本案上述程序;批准双方当事人提交的《联合将和解协议列为商业机密信息动议》(文件编号:第 9 号)。
依据《美国法典》第 35 编第 317 (b) 条及《联邦法规汇编》第 37 编第 42.74 (c) 条,和解协议(附件 1011)在委员会的文件系统中,应继续标注为 “仅限当事人与委员会查阅”;仅应联邦政府机构的书面请求提供该协议,或在任何人证明存在正当理由的情况下提供;且该协议应与所涉专利的档案及相关初步程序档案分开存放。
赶碳号有理由相信,禾迈股份与赛博能源在庭前达成和解的保密协议中,应该有商业代价。
实际上在禾迈股份之前,赛博能源先起诉的昱能科技。

赛博能源对昱能科技起诉书
赛博能源在起诉书中表示,至少自2021年10月15日赛博能源对森萨塔公司提起诉讼之日起,被告(昱能)便知晓489号专利及其所涉基础技术(因森萨塔公司当时使用了昱能的逆变器)。
昱能科技公告,美国“华州昱能于2022年10月被CyboEnergy,Inc.以侵犯其在逆变器产品上的知识产权在美国德克萨斯州西部地区法院提起诉讼,后续经过系列的诉讼程序后,双方于2024 年3 月签订和解协议,约定华州昱能向其支付 30万美元(折合人民币 211.67 万元)和解金。
公司将上述和解金支出计入营业外支出,同时就上述诉讼发生的律师服务费552.01万元确认非经常性损益项目。赔钱才赔了200多万,但律师费竟然花 500多万。美国的律师太会做生意了。
但是,禾迈股份、德业股份这两家公司可不像昱能科技这么老实,从未披露过相关诉讼。
禾迈股份究竟赔了多少钱给赛博能源、支付了多少律师费,亦无从知晓,其年报中的重大诉讼一项为空白。
现在,赛博在搞完昱能、禾迈之后,估计尝到了甜头,现在又盯上了德业。
特别声明:以上内容仅代表作者本人的观点或立场,不代表新浪财经头条的观点或立场。如因作品内容、版权或其他问题需要与新浪财经头条联系的,请于上述内容发布后的30天内进行。
>>>查看更多:股市要闻