来源:观潮财经

新舟破浪,富泽润万家。
今日,山东金融监管局发布公告,同意富泽人寿受让君康人寿保险业务,这标志着君康人寿风险处置正式收官。此外,监管官网还同时公布了富泽人寿获批筹建、开业、董监高获批等多份文件。
此前,富泽人寿与其26家分支公司保险许可证获批,富泽人寿注册资本170亿元,股权结构中地方国有资本占比超53%,董事长冯毅出身地方金融监管局局长,总裁谢祝锋为新生代财务线出身总裁代表,班子成员达9人。
另外,富泽人寿名称寓意首次公开:“富泽”谐音“负责”,呼应监管“回归本源”要求。而随着新旧公司切换,富泽人寿通过“地方国资+保障基金+大型险企”的稳定结构彻底隔离历史风险,全力保障原有保单和新展保单的兑付和服务连续性。背靠地方政府的政策背书、国资的强大资源整合能力及深厚的专业加持,富泽人寿正持续夯实根基,稳步走上可持续发展道路。
值得关注的是,君康人寿资产处置在保险业最新模式的基础上有了迭代和更新,济南市以一市之力承接了君康人寿的化险任务。此案例的出现也说明,经多年实践,从安邦到现在的处置机构,我国金融保险风险处置模式正在进行新一轮迭代,并进化出一个新的实践样本。
01
新旧切换,风险化解模式再迭代
12月16日,山东金融监管局公告同意富泽人寿受让君康人寿的保险业务。同时,监管官网还发布了之前审批的诸多批文,包括富泽人寿获批筹建、获批开业、董事长总裁任职资格,以及其他高管、董事的任职资格等。


在此之前的11月10日,金融监管总局官网也已公布了富泽人寿于今年6月10日获准的保险许可证信息。

据观潮财经了解,富泽人寿在今年年初获监管批筹;6月19日富泽人寿完成工商注册登记,注册资本170亿元,其也于当月获批开业。根据最新信息来看,其股权结构呈现“地方国资+行业保障基金+大型险企”并行的形式。
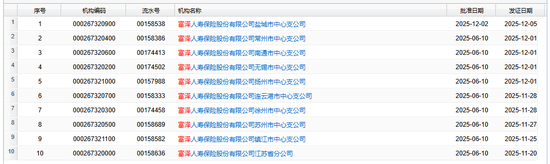
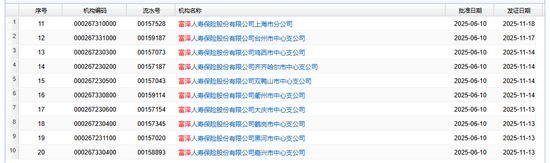
除了总公司保险许可证下发,监管官网近日也陆续发布了该公司各分支机构保险许可证相关信息。



近期,富泽人寿的工商登记信息也已更新,其公司地址、股东信息、9名主要高管成员信息均已公开,显示其成立日期为2025年6月19日。

值得关注的是,富泽人寿的地方国有股东持股比例已超过50%,达53.2353%。而这两家归属济南的股东:济南金投控股集团、济南政金通达投资集团,分别是济南财政局的孙公司与子公司。

富泽人寿此次风险处置的模式,不同于渤海、信泰人寿等在原公司基础上就地改造,与天安、华夏人寿等“明天系”平台“设新破旧”模式近似。这种模式的好处是隔离风险,提高风险处置效率,起到风险熔断或隔断作用。这一点与之前海港人寿类似,其成立之初广东省属企业联合持股高达59%,切实压实了属地责任。
风险处置模式迭代
不同的是,恒大人寿由其总部所在的财力大省广东省承接较为理所应当,也成为我国金融风险处置机制中的“标准”方案。而君康人寿由与其毫无关系的济南承接,更像是一次“特事特办”性方案。这意味着,济南市以一市之力承接了君康人寿的化险任务,体现出济南市政府部门的担当。
这也体现了我国金融风险处置机制正在从“谁家孩子谁抱走”的简单分级负责制,向更加讲求效率、成本和地方积极性的“一事一议、择优托付”的综合评估制演变。
风险化解,本质上是用时间换空间,而这种处理方式需要外部条件、内在机制的紧密配合,其核心则是用增量化解存量,而此模式也在不断探索中迭代。此案例的出现也说明,经多年实践,从安邦到现在的处置机构,我国金融保险风险处置模式正在进行新一轮迭代,并进化出一个最新的实践样本。
这种“一事一议”式的托付,一方面,监管在公司化险过程中给足了政策支持;另一方面,对济南而言这或许不仅仅是支持化解风险,更可能是一次战略投资机会。
从山东视角来看,山东不仅是我国第三大省,工业门类齐全程度更是在全国居首。2024年,山东省实现地区生产总值9.86万亿元,距离10万亿元大关仅一步之遥,稳居全国第三位,仅次于广东和江苏。而作为省会城市的济南,2024年济南GDP达到1.35万亿元,经济总量稳居全国城市前20强,在2025年城市综合发展指数报告中位列全国第五。
这种基础条件下的济南市,一直有打造区域性金融中心的雄心,“抄底”优质金融牌照控股一家全国性保险公司,能极大地提升济南在金融领域的地位,完善其金融产业链,填补当前省属人身险中型企业空白。同时,也能凭借强劲区域资源优势盘活君康人寿旗下的优质资产,实现盘活增值。
对此观点,其所委派的高管阵容也可佐证一二。根据工商登记信息,富泽人寿,除了之前观潮财经独家报道的董事长冯毅、总裁谢祝锋之外,董事6人分别为:肖兵、徐洪才、李鸿飞、尹航、桑本谦、熊军,另增财务负责人一人刘传真。

冯毅1982年生,据观潮财经了解,其有非常丰富的基层经验,在当地处理急难险重工作多年,一定程度上扮演着低调“拆弹专家”的角色,有着过硬的口碑。更关键的是,其具备地方金融监管经验。
冯毅:男,1982年6月出生。时任山东省济南市地方金融监督管理局(市金融办)党组书记、局长(主任)。在任济南市地方金融局局长期间,济南市金融业增加值总量、济南市存贷款总量领跑全省,与其他金融机构董事长经历不同的是,其长期在镇街工作,期间一直负责征地拆迁、城市建设、招商引资等工作,参与建成了济南市第一个真正意义上的中央商务区CBD。
在高层选用上还不止于此,其他核心高管班子的任用也都以非常市场化的方式进行选聘,尤其总裁人选的选用,体现了该地方政府的前瞻性视野。此前,观潮财经曾独家报道富泽人寿首任总裁为中邮人寿副总裁及财务负责人谢祝锋,详情请见(《独家!资产处置新进展!财务出身总裁再添一人,君康转富泽,新征程开启……》)。
1977年出生的谢祝锋,财务线出身,具有丰富的各类人身险公司工作经验,其曾在外资、中型中资、央企下属大中型人身险公司任职。
根据中邮人寿最近几年偿付能力报告中高管分工信息可见,谢祝锋近年分管过财务、投资、业务等多个条线,是保险机构近年选取掌舵人和操盘者新生代高管的代表。观潮财经曾撰文总结近年高管任用趋势,精算、财务、投资线出身高管担任总裁的比例正逐年上升。
谢祝锋:1977年9月出生。2005年6月任中英人寿财务部助理总经理;2008年10月任百年人寿计财部总经理;2013年7月任信诚人寿计财部总经理;2015年3月任中邮人寿临时财务负责人;2015年6月任中邮人寿财务负责人;2024年11月起任中邮人寿副总经理、财务负责人。
冯毅、谢祝锋这一组合,不同于以往风险处置中主要由监管直接派驻高管的模式,被视为该公司未来将注重专业化、市场化运营的一个积极信号,为后续团队组建奠定市场化、效率优先、稳健务实的基础。
从昭德人寿到正德人寿,到君康人寿,再到富泽人寿,2006至2014,从2014至2019,从2019至今……
2016年,忠旺豪掷325亿拿下君康人寿股权。2019年,忠旺集团现金流陷入困境,随后忠旺集团从港交所摘牌。之后经过两年过渡期,来自新华保险的黎宗剑、于志刚一同坐镇君康,保证平稳过渡。再至2024年,山东省济南市国有资产背景的相关方联合中国人保派出的工作组,正式介入君康人寿,拉开了风险处置的序幕。
这一幕幕,述说着这家命途多舛险企一路走来的跌宕起伏,而今转身国资,背靠山东,其未来的发展更值得期待。
02
新航扬帆,富泽启程
富泽人寿的诞生作为我国保险业风险处置的又一案例,国有资本在其中发挥着“定海神针”的作用,而保险保障基金与中国人保的参与则为其带来专业风控及行业资源,重塑该公司核心经营能力。
在新旧机构切换之际,富泽人寿的新战略、新思路也在酝酿之中。近日,观潮财经独家获悉,富泽人寿正结合国家十五五规划,启动2026-2030五年战略规划的编制工作,明确公司下一阶段的战略方向。
当前,面对人口结构变化、经济发展范式转变、低利率周期挑战、市场头部效应凸显等新形势,行业发展正经历深度转型。
在此背景下,为化险而生的富泽人寿,既需坚持有价值的长远可持续发展,实现公司财富充盈,解决受让的君康人寿保险业务负债缺口;也要坚持金融为民的政治性和人民性,让其发展成果能够惠及万家。如何通过特色化经营模式与差异化发展战略将以上任务落地,是当前班子的主要任务。
此前,君康人寿因民营股东忠旺集团的资金挪用等问题导致偿付能力严重不足,保单持有人面临潜在风险。而富泽人寿通过“地方国资+保障基金+大型险企”的稳定结构彻底隔离历史风险,确保原有保单的兑付和服务连续性。
随着风险处置的顺利开展,一家新机构平稳落地,地方获得了一家全国性中型保险机构,保险业重获一家健康险企,但国资的强力注入受益最大的一定是保单受益人。
近年来,人身险行业逐步由过去单纯强调数量、规模的外延式发展,向注重结构优化、质量提高、效能提升的内涵式增长转型;由依赖资源高消耗、高投入的资源驱动型模式,向依靠管理革新、人才建设、科技赋能的创新驱动型模式转型。
随着行业进入发展新阶段,“减量、提质、增效”成为发展共识和核心导向,如何推动并实现“新旧动能转换”成为赢得未来市场竞争的关键。
在此期间,还需平衡好价值导向与规模增长之间的关系;保证质的有效提升和量的合理增长,并彻底摒弃过去诸多问题险企单纯追求保费规模的粗放式发展的模式。如何优化业务结构,提升渠道效能,加强成本管控,推动实现有效益的规模、有质量的增长,确保每一步扩张都能坚实有力地增强公司长期竞争力和可持续发展能力,也是对这个新机构的一次系统性严峻考验。
据了解,在地方政府的强力支持下,富泽人寿的产品分红收益有望获得更可靠的保障和潜在提升。山东国资的深度参与不仅提高了资本的稳定性,还带来了地方资源整合能力。
一方面,170亿元注册资本金的雄厚资本实力增强了长期投资和抗风险能力,为分红险的盈余分配奠定基础;另一方面,国资背景强化公司治理,监管政策要求分红险披露红利实现率,而国资控股的长期经营理念更倾向于稳健分红,避免短期行为。
此外,据观潮财经了解,富泽人寿名称的由来也引发行业内外关注:“富泽”谐音“负责”,体现了其重视承诺、恪守责任的特质。未来,稳健合规向善、奋力拼搏向上、开放创新向未来将是其精神底色,伴随其国有股份制保险公司身份的转换,从“保险供应商”到“美好生活伙伴”的升维也成为可能路径。
可见,地方政府支持不仅提供了政策背书,更通过“资本+资源+经营”的多重提升,为保单分红收益提供了双重保障。
君康已成过去式,富泽人寿的诞生,为一段颠簸的航程点亮了彼岸的灯塔。正如富泽人寿所许诺的,新旧切换承载的不仅是保单与资产的交割,更是万家灯火下,一份关于“负责”的承诺。愿此新舟,以国有资本压舱,以专业创新为帆,在时间的潮汐中,稳稳驶向那个“富泽润万家”的明天。
未来卷长,正徐徐铺展。
>>>查看更多:股市要闻