当前位置: 爱股网 > 股票新闻 > 正文

陕西省政府发布一批任免职通知

时间:2026年01月12日 18:16

转自:北京日报客户端

今天(1月12日)

陕西省人民政府发布一批任免职通知

省退役军人事务厅:

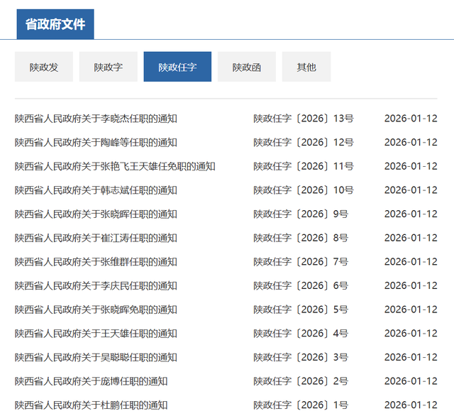
省政府2026年1月6日决定,任命杜鹏为陕西省退役军人事务厅副厅长(试用期一年)。

陕西文化产业投资控股(集团)有限公司:

省政府2026年1月6日研究,同意庞博为陕西文化产业投资控股(集团)有限公司副总经理人选。

请按有关规定办理。

陕西农业发展集团有限公司:

省政府2026年1月6日决定,任命吴聪聪为陕西农业发展集团有限公司董事长。

陕西国际经贸集团有限公司:

省政府2026年1月6日决定,任命王天雄为陕西国际经贸集团有限公司董事、董事长。

西安理工大学:

省政府2026年1月6日决定,免去张晓晖西安理工大学副校长职务。

西安医学院:

省政府2026年1月6日决定,任命李庆民为西安医学院副院长(试用期一年)。

西安财经大学:

省政府2026年1月6日决定,任命张维群为西安财经大学副校长(试用期一年)。

西安邮电大学:

省政府2026年1月6日决定,任命崔江涛为西安邮电大学副校长(试用期一年)。

西安工程大学:

省政府2026年1月6日决定,任命张晓晖为西安工程大学校长(试用期一年)。

西北大学:

省政府2026年1月6日决定,任命韩志斌为西北大学副校长(试用期一年)。

陕西省物流集团有限责任公司:

省政府2026年1月6日决定,

免去:

王天雄陕西省物流集团有限责任公司董事职务。

同意:

张艳飞为陕西省物流集团有限责任公司总会计师人选;

王天雄不再担任陕西省物流集团有限责任公司总经理职务。

请按有关规定办理。

长安汇通集团有限责任公司:

省政府2026年1月6日决定,

任命:

陶峰为长安汇通集团有限责任公司董事、董事长。

同意:

李秀平为长安汇通集团有限责任公司总会计师人选;

王瀚博、王瀑霖为长安汇通集团有限责任公司副总经理人选。

请按有关规定办理。

陕西医药控股集团有限责任公司:

省政府2026年1月6日研究,同意李晓杰为陕西医药控股集团有限责任公司副总经理人选。

请按有关规定办理。

来源:陕西省人民政府官网

查看更多董秘问答>>

热门新闻

>>>查看更多:股市要闻