炒股就看金麒麟分析师研报,权威,专业,及时,全面,助您挖掘潜力主题机会!
界面新闻记者 | 陈慧东
绝味食品因五年间未确认加盟门店装修业务收入被实施其他风险警示(ST)的公告,揭开了这家卤味巨头财务问题的冰山一角。
绝味食品收到湖南证监局下发的《行政处罚事先告知书》,公司嫌信息披露违法违规案已调查完毕。调查结果显示,绝味食品在2017年至2021年五年期间,少计营业收入按比例估算合计达7.24亿元。
在一众上市公司虚增营收和利润时,绝味食品反其道而行之,选择少计超7亿元营收,原因为何?7亿元资金流向何处?“关店潮”下绝味食品未来会怎样?
收入隐瞒超7亿元
根据绝味食品9月19日晚间发布的《行政处罚事先告知书》,湖南证监局查明,2017年至2021年期间,公司未确认加盟门店装修业务收入,导致年度报告少计营业收入,占对应年度公开披露营业收入的比例分别为5.48%、3.79%、2.20%、2.39%、1.64%。

西安地区一家绝味鸭脖小型门店负责人向界面新闻记者表示,开店费用涵盖加盟费、保证金、装修费等,总投资约20万元,其中包括加盟费及保证金合计3万元左右,装修和设备费用10万元(大型店在15万元左右),还需要支付培训费、日常经营的食材费用等。
绝味食品2017年上市,根据2023年湖南证监局对公司出具的行政监管措施决定书,界面新闻记者发现,公司早在上市之前,便已存在经营性占用加盟门店营业款、加盟费、管理费等违规行为。
2023年8月18日,上交所对绝味食品及相关责任人出具《警示函》,查明在2013年1月至2018年7月期间,公司通过员工个人账户收取公司门店营业款、加盟费、管理费合计2107.07万元,且未存入公司账户,构成经营性资金占用。公司迟至2023年3月17日才向相关责任人员追回上述全部违规占用资金。
一位券商人士向界面新闻记者表示,绝味食品“直营+加盟”的扩张模式为财务操纵提供了天然土壤。监管多次处罚结果显示,在加盟业务的资金管理上,绝味食品存在长期失控状态。“7亿元资金未进入公司账户,暴露了资金体外循环的可能性,这种操作模式下,大笔资金可能直接通过体外循环流入关联方口袋,涉嫌严重损害上市公司股东的利益。”
根据上述行政处罚公告,绝味食品将于22日停牌,23日复牌后A股简称变更为ST绝味(维权),股票价格日涨跌幅限制为5%。
截至9月16日,绝味食品拥有超5万名持股股东,上市公司被戴帽,对于中小投资者来说是利空出尽还是噩梦开始?
界面新闻记者注意到,线上交流平台上,多位投资者提及,上述监管处罚落地后,绝味食品被少计的超7亿元营收会否被收回上市公司,对公司运营产生积极影响。

绝味食品投资者再股吧中表示少计营收应收回上市公司。图片来源:股吧
关于少计的超7亿元营收会否被偿还给上市公司?上海汉联律师事务所宋一欣律师向界面新闻记者表示,“绝味食品相关年度的财务报告应该更正,更正后得财务处理,这不是借款,做财务处理以达到财务数据真实反映经营情况、合规满足监管要求即可。”
宋一欣律师向界面新闻记者称,“营收少计也是虚假陈述,绝味鸭脖的违规行为构成损害上市公司投资者利益。符合条件的投资者可发起维权申请。”
北京一家虚假陈述维权领域的律师事务所合伙人向界面新闻记者表示,“根据上市公司目前披露的公开信息,看不出来这笔钱上市公司有没有追回来,所以也无法判断是不是还需要再偿还上市公司。”
超7亿元流入谁的口袋?
根据《行政处罚事先告知书》,彭才刚时任公司财务总监,安排财务部员工出借个人银行账户,未规范加盟门店装修业务的核算,并在2017年至2019年年度报告上签字,是其他直接责任人员。戴文军时任公司董事长兼总经理,知悉公司实际管理加盟门店装修业务,未对加盟门店装修业务进行规范管理,未将其纳入到上市公司经营、核算体系,并在2017年至2021年年度报告上签字,是直接负责的主管人员。
湖南证监局拟决定:一、对绝味食品股份有限公司责令改正,给予警告,并处以400万元罚款;二、对戴文军给予警告,并处以200万元罚款;三、对彭才刚给予警告,并处以150万元罚款;四、对彭刚毅给予警告,并处以100万元罚款。上述罚款共计850万元。
绝味食品实控人、董事长戴文军控股的上海聚成企业发展合伙企业(有限合伙)(简称“上海聚成”),持有绝味食品34.32%的股份。上市公司第二大股东上海慧功、第三大股东上海成广、第四大股东上海福博,均由戴文军控制,分别持有绝味食品8.13%、2.79%、2.54%的股份,三家公司和上海聚成及戴文军是一致行动人关系。
也就是说,董事长戴文军通过四家关联企业共计控制上市公司持股总计47.78%。
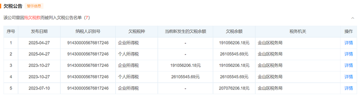
界面新闻记者注意到,上海聚成及上述三家公司2023年均同步出现欠税情况且数额不小。截至2025年4月,绝味食品控股股东上海聚成欠税金山税务局企业所得税金额达1.91亿元,上海慧功、上海成广、上海福博欠税分别达0.34亿元、0.99亿元、2.08亿元。

上海聚成多次被列入欠税公告名单。图片来源:天眼查
通过回溯上交所2023年8月18日下发的《监管函》,界面新闻记者还注意到,绝味食品在2019-2021年间存在多起未披露的关联交易,涉及金额巨大且交易结构复杂。这些刻意隐瞒的关联投资,可能成为利润输送的通道。
监管查明,上市公司全资子公司深圳网聚曾参与投资湖南肆壹伍私募股权基金企业(有限合伙)(以下简称湖南肆壹伍),认购份额比例65.35%。
2021年3月,湖南肆壹伍等受让公司供应商长沙彩云农副食品品有限公司(以下简称长沙彩云)原股东股权,深圳网聚及绝味食品董事、监事等通过合伙企业间接持有长沙彩云。根据相关规定,长沙彩云应被认定为绝味食品关联方。但公司直至2021年9月25日,前任财务总监彭才刚担任长沙彩云监事时,才称将长沙彩云认定为关联方。2021年3月9日至2021年9月25日期间,公司未将长沙彩云认定为关联方,未将与长沙彩云之间发生的8520.53万元交易认定为关联交易,亦未履行关联交易相应的审议程序和信息披露义务。

关联方长沙彩云等股权结构图。数据来源:公告 制图:界面新闻
界面新闻记者梳理财报内容发现,2021年至2024年,作为主要供应商之一,上市公司与长沙彩云关联交易的实际发生金额分别为1.44亿元、1.44亿元、1.31亿元、1.26亿元。
“关店潮”下被ST雪上加霜
作为四大卤味企业中门店规模最大、历史扩张速度最快的品牌,加盟模式下企业的收入确认本应遵循严格准则。但界面新闻记者发现,绝味食品在门店数量加速扩张的同时,却存在加盟商管理收入异常下滑的现象。
2019年是绝味食品门店数量的扩张高峰期。2019年门店数量首度突破1万家,2020至2023年分别为12399家、13714家、15076家、15950家。
2019至2023年,公司加盟商管理收入分别为0.55亿元、0.68亿元、0.67亿元、0.75亿元、0.83亿元。2020年至2021年,公司门店增加约1300多家,加盟商管理收入反而出现下滑。
根据窄门餐眼平台2025年4月13日数据显示,绝味食品门店数降至12129家。截至今年上半年,加盟商管理收入0.27亿元,同比下滑20.28%。

数据来源:公告 制图:界面新闻
2025年上半年,绝味食品实现营收28.2亿元,同比下降15.57%;归母净利润1.75亿元,同比降40%以上,其中二季度单季营收同比减少近两成。
同行方面,上半年,周黑鸭(1458.HK)凭借1.08亿元的归母净利润实现228%的同比增长;煌上煌(002695.SZ)归母净利润0.77亿元,同比增长26.9%;紫燕食品(603057.SH)实现归母净利润1.05亿元,同比下降47.2%。
绝味食品的关店速度也远超同行。窄门数据显示,2024年6月底至今,绝味食品在一年多关店超4000家。今年上半年,煌上煌的门店总数较去年底的3660家减少762家,周黑鸭的门店总数较去年底的3031家减少167家。
中国食品产业分析师朱丹蓬向界面新闻记者表示,“卤味赛道的增长有赖于几个方面。从宏观来说,是基于重度消费人群的人口红利,以及门店数量的增加。从微观来说,就包括品牌效应、规模效应、粉丝效应,以及品牌服务体系以及客户黏性。整体看,从品类竞争的角度,卤味整体的价格是偏高的,性价比不足。加上这几年整个行业的消费意愿、消费能力、消费的信心下探后,对卤味行业的挑战是非常大的。
朱丹蓬说,“此次绝味食品受罚对企业的商誉造成不可估量的损失,对团队信心、供应商信心、加盟商的信心都是巨大的打击。”
>>>查看更多:股市要闻