10月28日,上证指数、深证成指早盘探底回升,临近午盘有所回落,午后再度上扬;创业板指、科创50指数全天震荡走低。截至收盘,上证指数报3322.20点,涨0.68%,成交额7175.1亿元;深证成指报10685.89点,涨0.62%,成交额11453.96亿元;创业板指报2229.12点,跌0.44%,成交额5756.03亿元;科创50指数报986.56点,跌0.47%,成交额1153.91亿元。沪深两市合计成交18629.06亿元,成交额较上一交易日增加907.69亿元。
并购重组、租售同权等概念走强华立股份12连板
盘面上来看,行业板块、概念涨多跌少。其中,钢铁、房地产、教育、商贸零售、建筑材料、轻工制造、传媒、环保、美容护理等行业涨幅靠前;并购重组、租售同权、粮食概念、低碳冶金、农业种植、钒电池、广电、影视、社区团购等概念走势活跃。银行、保险等行业跌幅居前;动力电池、有机硅等概念走势较弱。涨停个股主要集中在计算机、建筑装饰、化工、机械设备、电子、电力设备、房地产、汽车等行业。
个股涨跌情况,截至收盘,沪深两市合计4041只个股上涨,1001只个股下跌,平盘个股52只,停牌的个股11只。不含当日上市新股,共有282只个股涨停,1只个股跌停。
从收盘涨停板封单量来看,深康佳A最受追捧,收盘涨停板封单有1.78亿股;其次是电投产融、东方集团(维权)、申华控股、四川长虹、大众公用等,涨停板封单分别有1.76亿股、1.44亿股、1.14亿股、9890.34万股、9646.74万股。
以涨停板封单金额计算,46股封单金额超1亿元。其中,电投产融涨停板封单资金最多,涨停板封单资金为12.75亿元;其次是四川长虹、深康佳A、海能达、上海电气(维权)、万润科技,涨停板封单资金分别为12.24亿元、9.41亿元、7.92亿元、6.43亿元、5.87亿元。

连续涨停天数来看,华立股份连收12个涨停板,连续涨停板数量最多;其次是*ST中润(维权)10连板;川润股份9连板;松发股份8连板;海能达、山东华鹏(维权)均7连板;泰禾智能、电投产融、远达环保、ST加加、ST柯利达(维权)均6连板;海源复材、东方集团、至正股份均5连板;宝馨科技、华东数控、上工申贝等10股均4连板;恒银科技、克劳斯、皇庭国际、哈森股份、深康佳A、双成药业等24股均3连板;大众公用、烽火电子、特力A、深赛格、福莱特、京山轻机、宗申动力、怡亚通、上海电气、岩石股份(维权)等55股均2连板。
沪深两市主力资金净流出278.29亿元尾盘主力资金抢筹21个行业
Wind统计显示,沪深两市主力资金今日净流出278.29亿元。其中,创业板主力资金净流出160.89亿元,沪深300成份股主力资金净流出141.03亿元,科创板主力资金净流出14.37亿元。
从行业来看,申万所属的31个一级行业,今日有11个行业主力资金呈现净流入,其中,商贸零售行业主力资金净流入最多,净流入金额为11.91亿元;行业主力资金净流入居前的还有家用电器、国防军工、钢铁,净流入金额分别为10.04亿元、6.43亿元、6.3亿元。20个行业主力资金呈现净流出,其中,电子行业主力资金净流出最多,净流出金额为101.21亿元;行业主力资金净流出靠前的还有电力设备、医药生物、通信、建筑装饰、银行,净流出金额分别为83.26亿元、19.36亿元、18.98亿元、17.48亿元、15.9亿元。
尾盘主力资金净流入来看,有21个行业获尾盘主力资金净流入,其中,非银金融行业尾盘主力资金净流入最多,净流入金额为4.56亿元;其次是汽车、有色金属、电力设备、电子等行业,尾盘主力资金净流入均超2亿元。
74股获主力资金净流入超亿元尾盘主力资金抢筹中粮资本个股来看,今日有2187个股获主力资金净流入,其中,74股获主力资金净流入超1亿元。银之杰主力资金净流入最多,净流入金额为11.36亿元;主力资金净流入居前的个股还有赛力斯、大众交通、天风证券、中兵红箭、闻泰科技(维权),净流入金额分别为9.32亿元、5.74亿元、5.37亿元、4.87亿元、4.81亿元。
尾盘主力资金净流入来看,有67股获尾盘主力资金净流入超2000万元,其中,中粮资本尾盘主力资金净流入最多,净流入金额为2.17亿元;其次是赛力斯、华天科技、上海贝岭、天风证券、银之杰等,尾盘主力资金净流入均超1亿元。
128股被主力资金净卖出超亿元今日有2904只个股被主力资金净卖出,其中,128股被主力资金净卖出超1亿元。主力资金净流出最多的个股是隆基绿能,净流出金额为20.55亿元;主力资金净流出居前的个股还有双成药业、欧菲光、东方财富、润和软件、深城交,净流出金额分别为15.63亿元、14.51亿元、10.38亿元、8.97亿元、7.46亿元。
尾盘主力资金净卖出来看,有59股被尾盘主力资金净卖出超2000万元,其中,尾盘主力资金净流出最多的个股是拓维信息,净流出金额为1.24亿元;其次是隆基绿能、天龙集团、东方财富、欧菲光、双成药业等,尾盘主力资金净流出均超1亿元。
北向资金成交总额2262.63亿元北向资金今日成交总额为2262.63亿元。其中,沪股通成交总额为1060.1亿元,深股通成交总额为1202.53亿元。
活跃个股方面,北向资金今日成交总额前十名的有宁德时代、东方财富、贵州茅台、五粮液、中际旭创、泸州老窖、比亚迪、工业富联、中国平安、赛力斯,成交总额分别为25.08亿元、20.94亿元、18.85亿元、18.02亿元、16.74亿元、11.57亿元、11.53亿元、10.87亿元、10.59亿元、9.89亿元。
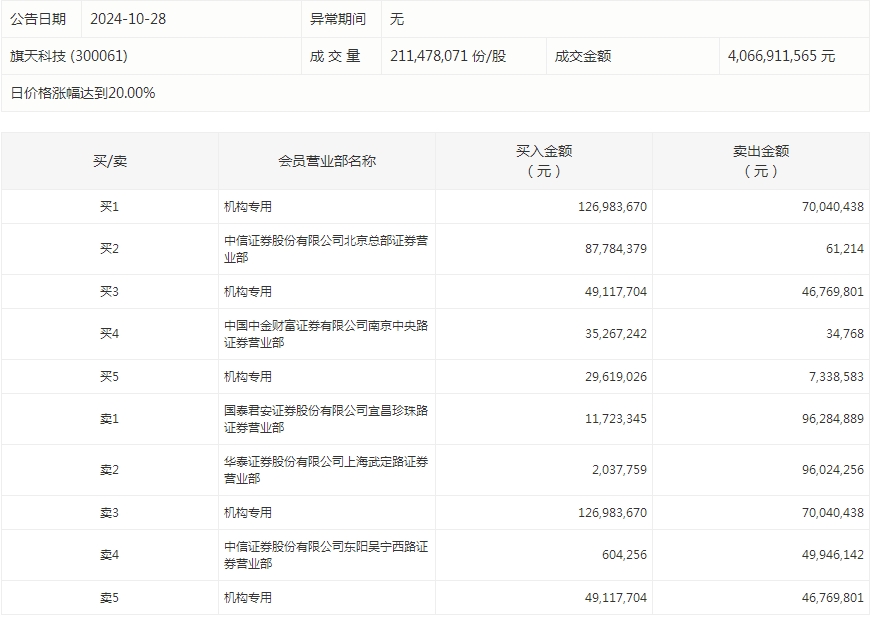
龙虎榜机构净买入7股旗天科技居首
盘后龙虎榜数据显示,今日机构席位资金合计净卖出约3.14亿元。其中,净买入的个股7只,净卖出的个股14只。机构净买入最多的股票是旗天科技,净买入金额约8157.16万元;机构净买入的还有香雪制药(维权)、国新健康等股。机构净卖出最多的股票是景旺电子,净卖出金额约1.72亿元;机构净卖出居前的还有深科技、宗申动力、川发龙蟒等股。

旗天科技今天涨停。盘后数据显示,5家机构出现在龙虎榜单上,合计净买入8157.16万元;中信证券股份有限公司北京总部证券营业部买入8778.44万元,同时卖出6.12万元;国泰君安证券股份有限公司宜昌珍珠路证券营业部买入1172.33万元,同时卖出9628.49万元。

>>>查看更多:股市要闻