中基健康产业股份有限公司(以下简称“公司”)接到公司实际控制人新疆生产建设兵团第六师国有资产监督管理委员会(以下简称“六师国资委”)出具的《通知》,拟由公司通过发行股份购买资产方式,购买新疆新业能源化工有限责任公司(以下简称“新业能化”)不少于75%的股权,同时拟向不超过35名特定投资者发行股份募集配套资金(以下简称“本次交易”)。
根据《上市公司重大资产重组管理办法》等相关法律法规的规定,本次交易将构成重大资产重组。交易完成后拟购买的标的资产相关指标超过上市公司对应指标的100%,上市公司控股股东和实际控制人将发生变动,符合《上市公司重大资产重组管理办法》第十三条的规定,达到重组上市标准。因此,本次交易构成重组上市。
对中基健康借壳案例在自 9.24新政以来的深度解读:
新政背景及对借壳上市的影响
2024年 9月 24日,证监会发布《关于深化上市公司并购重组市场改革的意见》,被称作“并购六条”,主要是支持上市公司围绕科技创新、产业升级布局,引导更多资源要素向新质生产力方向聚集。这一政策的出台,为上市公司的并购重组提供了更明确的方向和更有利的政策环境,鼓励企业通过并购重组实现产业升级和转型,一定程度上也会刺激借壳上市的活跃度。
中基健康借壳案例符合新政的方面
产业升级与资源整合:中基健康从番茄制品行业向煤化工行业转型,符合新政中支持上市公司围绕产业转型升级、寻求第二增长曲线等需求开展符合商业逻辑的跨行业并购的要求,实现了不同产业之间的资源整合,有可能引导更多资源向新的产业领域聚集。
国资背景下的战略布局:中基健康与新业能化均为国资控股企业,此次重组是国资体系内部的资源优化配置,响应了国有企业改革中战略性重组与专业化整合的趋势,有助于提升国有资本的布局与话语权,符合国家对国资国企改革的政策导向。
交易情况及对公司的影响
交易方式及结构:中基健康拟通过发行股份购买资产的方式,收购新业能化不少于 75%的股权,同时向不超过 35名特定投资者发行股份募集配套资金。这种交易方式可以为公司筹集资金,用于支持新业能化的业务发展和整合,同时也可以优化公司的股权结构。
对中基健康的影响:如果交易成功,新业能化的资产、业务和盈利能力将注入中基健康,有望显著提升公司的规模和业绩。中基健康的主营业务将从番茄制品转变为煤化工等领域,实现业务的多元化和升级。同时,公司的控股股东和实际控制人将发生变动,可能带来新的管理团队和经营理念,为公司的发展注入新的活力。
风险与不确定性
审批风险:本次交易尚需提交公司董事会、股东大会审议,并经监管机构批准后方可正式实施,能否通过审批尚存在一定不确定性。如果审批未通过,公司将面临停牌期间的机会成本和投资者的信心受挫等问题。
整合风险:中基健康与新业能化属于不同行业,在业务、管理、文化等方面存在差异,整合难度较大。如果整合不当,可能会导致协同效应无法发挥,甚至出现经营管理混乱等问题。
市场风险:在停牌期间和交易完成后,公司的股价可能会受到市场整体行情、行业竞争格局、投资者预期等多种因素的影响。如果市场对本次交易不看好,公司股价可能会出现下跌,影响股东的利益。
市场反应与预期
市场关注度高:中基健康的停牌公告引发了市场的广泛关注,尤其是业内人士对该重组案例的各种解读和推测层出不穷。这表明市场对首笔借壳案例的关注度较高,投资者对其潜在的投资机会和对市场的影响充满期待。
对行业的示范效应:如果中基健康借壳上市成功,可能会对其他企业起到示范作用,激发更多企业通过借壳上市或并购重组的方式实现发展。同时,也可能会吸引更多资金关注并购重组领域,推动市场的活跃度和资源配置效率的提升。
借壳上市是企业实现上市的一种特殊方式,在操作过程中涉及诸多技巧与需要注意的隐秘之处:
壳资源选择技巧
筛选标准:优先考虑经营情况一般、股权结构较为单一、盈利微薄、市值较低的上市公司。股权结构单一便于收购决策与沟通,能提高成功率;应避开深陷负债、负债率畸高的公司,因其债务梳理和处置极为复杂。
壳资源分类利用:实壳公司有业务和壳资源费价值;空壳公司价值取决于壳资源费与债务重组剥离成本;净壳公司价值仅为壳资源费。企业应根据自身需求和资金实力等因素,合理选择合适类型的壳资源。
借壳流程操作技巧
尽职调查与协议草拟:在准备阶段,对壳公司进行全面深入的尽职调查,涵盖财务、法律、业务等各个方面,为后续交易提供准确信息。同时,精心草拟法律协议,明确各方权利义务,保障交易顺利进行。
证监会审核应对:在证监会审核环节,严格按照要求准备并提交一系列文件,如收购报告书、权益变动报告书、董事会报告书等,并及时履行公告义务。对于要约豁免问题,提前评估条件满足情况,若收购股份可能超 30%触发全面要约,可先持有 29%左右股份,并准备好要约收购报告书以防豁免被拒。
增发股份可行性考量:关注壳标的是否满足配股发行条件,包括三年连续盈利、现金分红要求、净资产收益率标准、拟配售股份数量限制以及无违法违规和擅自改变募集资金用途等情形,确保并购后能顺利增发新股。
借壳认定标准应对技巧
控制权变更把控:准确认定控制权变更时点,以收购人获得控制权之日为准,即使是分步实施也不例外。熟悉控制权认定标准,如持股 50%以上、表决权超 30%、能决定董事会半数以上成员选任等多种情形,并注意特殊情况的处理,如控股股东等认购募集配套资金巩固控制权时股份的剔除计算规则。
重组上市指标调控:借壳上市各项指标需达到 100%以上,企业在资产交易时要精确计算资产总额、营业收入、净资产额、发行股份比例等指标,避免触及借壳标准,或在符合国家战略的高新技术企业和战略新兴产业等政策允许范围内进行操作。同时,利用累计首次原则和预期合并原则,合理规划资产注入时间和方式,若 36个月内分次购买资产,按规定确定每次购买资产对应的指标计算基准。
配资与资金运作技巧
配套融资合理利用:了解配套融资规定,明确所募资金可用于支付现金对价、并购整合费用、标的资产在建项目建设、补充流动资金和偿还债务等,但补充流动资金和偿还债务的比例有严格限制。根据自身需求和市场情况,合理确定融资规模和用途,并按照规定进行信息披露。
资金来源与成本控制:确保募集配套资金的资金来源合法合规,对于锁价发行方式,详细说明发行对象与公司、标的资产的关系,资金来源,放弃认购的违约责任以及发行失败的影响等,有效控制资金成本和风险。
类借壳模式操作隐秘
引入无关联第三方策略:可采用现金收购方式引入无关联第三方,降低持股比例以避免构成借壳,仅向交易所申报而无需证监会审核;或通过第三方提前稀释原控股股东持股比例,确保重大资产重组后控制权不发生变更,但需关注监管态度变化,当前该方式监管审查较严。
表决权让渡操作要点:并购方适时让渡表决权,使控制权表面上不发生变换,但要注意后续表决权收回的时机和方式,避免引起监管否定评价,需密切跟踪监管政策动态调整操作策略。

证券代码:000972证券简称:中基健康 公告编号:2025-002号
中基健康产业股份有限公司
关于筹划重大资产重组的停牌公告
一、停牌事由和工作安排
中基健康产业股份有限公司(以下简称“公司”)接到公司实际控制人新疆生产建设兵团第六师国有资产监督管理委员会(以下简称“六师国资委”)出具的《通知》,拟由公司通过发行股份购买资产方式,购买新疆新业能源化工有限责任公司(以下简称“新业能化”)不少于75%的股权,同时拟向不超过35名特定投资者发行股份募集配套资金(以下简称“本次交易”)。
根据《上市公司重大资产重组管理办法》等相关法律法规的规定,本次交易将构成重大资产重组。交易完成后拟购买的标的资产相关指标超过上市公司对应指标的100%,上市公司控股股东和实际控制人将发生变动,符合《上市公司重大资产重组管理办法》第十三条的规定,达到重组上市标准。因此,本次交易构成重组上市。
目前本次交易尚处于筹划阶段,置入资产的具体范围仍在论证中,有关事项尚存在不确定性,为保证公平信息披露,避免公司股价异常波动,维护广大投资者利益,根据《深圳证券交易所股票上市规则》、《深圳证券交易所上市公司自律监管指引第1号——主板上市公司规范运作》和《深圳证券交易所上市公司自律监管指引第6号——停复牌》等有关规定,为了维护投资者利益,避免对上市公司证券交易造成重大影响,经公司向深圳证券交易所申请,上市公司股票(证券简称:中基健康,证券代码:000972)自2025年1月14日(星期二)开市起停牌,预计停牌时间不超过10个交易日。
公司预计在不超过10个交易日的时间内披露本次交易方案,即在2025年2月5日前按照《上市公司重大资产重组管理办法》《公开发行证券的公司信息披露内容与格式准则第 26号——上市公司重大资产重组》《深圳证券交易所上市公司自律监管指引第6号——停复牌》等文件要求披露相关信息,并申请复牌。
若公司未能在上述期限内召开董事会审议并披露交易方案,公司股票最晚将于2025年2月5日开市起复牌并终止筹划相关事项,同时披露停牌期间筹划事项的主要工作、事项进展、对公司的影响以及后续安排等事项,充分提示相关事项的风险和不确定性,并承诺自披露相关公告之日起至少1个月内不再筹划重大资产重组事项。
停牌期间,公司将根据事项进展情况,严格按照有关法律法规的规定和要求履行信息披露义务。待上述事项确定后,公司将及时发布相关公告并申请公司股票复牌。
二、本次交易的基本信息
(一)交易标的的基本情况
公司名称:新疆新业能源化工有限责任公司
统一社会信用代码:916590046934446071
成立日期:2009年11月9日
注册地址:新疆五家渠市经济技术开发区东工业园区经二路10077号
法定代表人:马金荣
注册资本:200000万人民币
公司类型:有限责任公司
营业期限:2009年11月9日至无固定期限
经营范围:生产、销售芳烃、1.4-丁二醇、成品油(汽油、柴油)、液化石油气、燃料油、轻芳烃、重芳烃、氨溶液(含氨≤5%)、硫铵、甲醇、煤焦油、天然气(富含甲烷的)(液化的)、二氧化碳(非压缩或液化)、石脑油、硫磺、杂酚、苯酚、氧(液化)、氮(液化)、氢气、加氢低芳烃、加氢高芳烃、重油、粗酚、煤气、甲醛溶液、正丁醇、1245-四甲苯、氨、二氧化碳(压缩的)、乙炔、化工产品(不含危险化学品)、混合芳烃、矿产品、金属制品、钢材、页岩油、煤炭(不含焦煤、焦炭)、炭黑、电、蒸汽、溶剂油和化工原料、润滑剂、石蜡、机械设备、化工设备、电力设备、通讯设备、环保设备、环保车辆、自动化设备、电子设备、五金交电、建材;机械设备租赁;房屋租赁;国内货运代理、铁路运输代理服务;工业用水;污水处理及其再生利用;软件租赁业务;道路普通货物运输;经营性道路危险货物运输(2类I项,3类)(剧毒化学品除外);能源科学技术与实验发展;从事化工、环保、机械设备(除特种设备)、机电设备(除特种设备)、工业自动化(除特种设备)、自动化设备(除特种设备)科技领域内技术服务、技术开发、技术咨询;消防技术服务(依法须经批准的项目,经相关部门批准后方可开展经营活动)
(二)主要交易对方
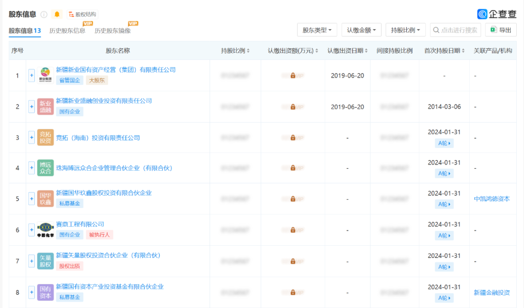
本次交易的交易对方为新疆新业国有资产经营(集团)有限责任公司等标的公司股东。本次交易对方的范围尚未最终确定,最终确定的交易对方以后续公告重组预案或重组报告书披露的信息为准。
(三)交易方式
本次交易的交易方式预计为发行股份购买交易对方持有的标的资产股权,并同时,上市公司拟向不超过35名特定投资者发行股份募集配套资金。本次交易目前尚存在不确定性,具体交易方式、交易方案以后续公告披露的信息为准。
(三)本次交易的意向性文件
2025年1月14日,公司与标的公司股东签署了《股权收购意向协议》,约定公司拟发行股份收购标的公司不少于75%股权,并募集配套资金。《股权收购意向协议》为交易各方就本次交易达成的初步意向,不具有法律约束力,本次交易的具体方案及相关条款由相关交易各方另行协商并签署正式文件确定。
四、风险提示
目前本次交易正处于筹划阶段,交易各方尚未签署正式的交易协议,具体交易方案仍在商讨论证中,尚存在不确定性。本次交易尚需提交公司董事会、股东大会审议,并经监管机构批准后方可正式实施,能否通过审批尚存在一定不确定性,公司指定的信息披露媒体为《证券时报》、《证券日报》、《上海证券报》和巨潮资讯网(http://www.cninfo.com.cn),有关公司的信息均以在上述指定媒体披露的信息为准。
五、备查文件
(一)经公司董事长签字、董事会盖章的《上市公司重大资产重组停牌申请表》;
(二)深圳证券交易所要求的其他文件。
敬请广大投资者关注后续公告,并注意投资风险。
特此公告。
中基健康产业股份有限公司董事会
2025年1月14日
证券代码:000972证券简称:中基健康公告编号:2025-001号
中基健康产业股份有限公司
关于董事长辞职的公告
中基健康产业股份有限公司(以下简称“公司”)董事会于近日收到公司董事长刘洪先生以书面形式提交的辞职报告。
刘洪先生因工作原因,申请辞去公司第十届董事会董事、董事长及董事会战略与ESG委员会主任委员职务,辞职后不再担任公司任何行政职务。根据《公司法》、公司《章程》等有关规定,刘洪先生的辞职不会导致公司董事会成员低于法定最低人数的情形,不会影响公司的正常运作及经营管理。公司董事会将按法定程序尽快完成选举董事的工作。
截至本公告日,刘洪先生未持有公司股份。此外,刘洪先生不存在应当履行而未履行的承诺事项。
刘洪先生在担任相关职务期间恪尽职守、勤勉尽责,公司及董事会对刘洪先生任职期间的辛勤工作及为公司所做出的贡献表示衷心感谢!
特此公告。
中基健康产业股份有限公司董事会
2025年1月13日
新疆新业能源化工有限责任公司(以下简称能化公司)成立于 2009年,是新疆维吾尔自治区国资委监管的国有现代煤化工企业,注册资本 20亿元。能化公司现有资产总额规模超百亿元,已建成 6万吨 1,4-丁二醇(BDO)、10万吨高清洁汽油、19.2万吨液化天然气、50万吨甲醇年生产能力,8万吨聚甲醛(POM)(一期)计划今年 5月投产,14万吨 1,4-丁二醇(BDO)已开工建设预计明年 6月投产,现有员工 1700余人。能化公司已发展成为“兵地融合”典范企业和现代煤化工示范引领企业,形成了“现代煤化工+清洁能源+特种燃料+精细化工+二氧化碳减排”的循环经济产业链,盈利能力位居现代煤化工行业前列,先后荣获国家级“高新技术企业”称号和“绿色工厂”认证。
新疆新业能源化工有限责任公司成立于2009年11月9日,注册资金160000万元。业务以研发、销售芳烃、1,4-丁二醇、燃料油、轻芳烃、重芳烃、硫胺、加氢低芳烃、加氢高芳烃、重油、粗酚、化工产品(不含危险化学品)、混合芳烃;工业用水;能源科学技术与实验发展;一般货物与技术的进出品业务。公司年产20万吨l,4丁二醇精细化工及配套工程项目(以下简称项目)计划投资80亿元,分三期建设,建设期自2012年8月至2018年12月。项目全部建成后将形成年产20万吨1,4丁二醇、19.2万吨液化天然气(LNG)、60万吨甲醇、10万吨甲醇制芳烃(MTG)和5万吨焦油加氢的产能,可实现年销售收入52亿元,新增就业人数近1300人,经济效益和社会效益良好。2013年8月10万吨甲醇制芳烃(MTG)一次性投料试车成功,并与当年见效益。计划2015年10月60万吨煤制甲醇投料试车。

中基健康产业股份有限公司报告期内公司从事的主要业务:新中基主营番茄红素,番茄制品,番茄酱,番茄沙司,番茄汁饮料等产品,是新疆生产建设兵团第六师控股的一家上市公司,股票代码000972。
报告期内,公司实现营业总收入24,512.96万元;实现归属母公司所有者的净利润1,180.14万元;归属于上市公司股东的净资产21,531.91万元。

>>>查看更多:股市要闻