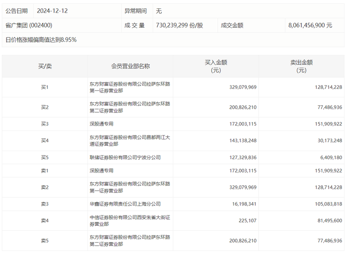
省广集团今日涨停,龙虎榜数据显示,上榜营业部席位全天成交15.7亿元,占当日总成交金额比例为19.48%。其中,买入金额为9.89亿元,卖出金额为5.81亿元,合计净买入4.08亿元。
具体来看,知名游资现身龙虎榜,方新侠(中信证券股份有限公司西安朱雀大街证券营业部)净卖出8127.05万元。此外,东方财富证券拉萨东环路第一证券营业部、东方财富证券拉萨东环路第二证券营业部分别买入3.29亿元、2.01亿元;深股通专用、东方财富证券拉萨东环路第一证券营业部分别卖出1.52亿元、1.29亿元。

>>>查看更多:股市要闻