
雷递网 雷建平 1月9日
瑞博生物(股票代码:“6938”)今日在港交所上市。瑞博生物发行价57.97港元,发行2748.74万股,募资总额15.94亿港元;扣除发行应付上市费用1.31亿港元,募资净额为17亿港元。

瑞博生物基石投资者分别为Arc Avenue、Bright Stone、华夏基金、大成国际及大成基金、Erik Selin Fastigheter AB、Himension Fund、IvyRock、Mingxin Growth Ventures、Springs Capital (Hong Kong) 、泰康人寿及拾贝能信、自然拾贝及Huatai Capital Investment Limited(关于华泰场外掉期)。
其中,Arc Avenue认购500万美元,Bright Stone认购400万美元,华夏基金、大成国际及大成基金分别认购1500万美元,Erik Selin Fastigheter AB、Himension Fund分别认购1000万美元,IvyRock认购400万美元,Mingxin Growth Ventures、Springs Capital (Hong Kong) 分别认购1000万美元;
泰康人寿认购1200万美元,拾貝能信、自然拾貝及Huatai Capital Investment Limited分别认购500万美元。
瑞博生物开盘价为75港元,较发行价上涨29%;截至目前,公司市值超过120亿港元。
上半年营收1亿 亏近亿
瑞博生物2007年成立,专注于RNA干扰(RNAi)技术开发及小核酸药物产业化,公司建立了全技术链整合的小核酸药物研发平台,构建了全球一体化的小核酸药物开发体系,通过打造了丰富的siRNA药物管线,覆盖心血管、代谢类、肾病,肝病等多个疾病尤其是慢病治疗领域。

瑞博生物自主研发的肝靶向RiboGalSTARTM递送技术已将多个产品推进临床Ⅱ期阶段。
瑞博生物于2025年1月在瑞典启动RBD5044治疗混合型血脂异常患者的2期试验。瑞博生物于2025年2月完成RBD4059在瑞典用于治疗冠状动脉疾病的2a期试验的所有患者入组。2025年3月,瑞博生物完成了RBD7022在LDL-c胆固醇正常或升高的受试者中的1期试验。
招股书显示,瑞博生物2023年、2024年营收分别为4.4万元、1.43亿元;毛利分别为2万元、1.31亿元;研发开支分别为3.16亿元、2.8亿元;行政开支分别为8111万元、9251万元;年亏损分别为4.37亿元、2.81亿元。

瑞博生物2025年上半年营收为1.04亿元,较上年同期的6631万元增长57.6%;期内亏损为9777万元,上年同期的期内亏损为1.42亿元。

截至2025年6月30日,瑞博生物持有的现金及现金等价物为3.58亿元。
刚募资1.5亿
瑞博生物2020年4月完成C2轮融资,募资4.54亿元;9月完成C+轮融资,募资2.5亿元;12月完成C1轮融资,募资2.03亿元。
瑞博生物2022年9月完成E1轮融资,募资2.54亿元。
瑞博生物在2024年8月进行了E2轮融资,募资总额为6578万元,E2轮融资的对价已于2025年1月26日悉数结清。
瑞博生物2025年6月又进行了一轮募资,募资总额为1.52亿元。
梁子才控制30%投票权
瑞博生物执行董事分别为梁子才博士、甘黎明博士、张鸿雁博士;非执行董事分别为戚飞博士、李东方、李宇辉;独立非执行董事分别为宇学峰博士、马朝松、王瑞平。

梁子才博士与张鸿雁博士为配偶关系。梁子才博士、甘黎明博士、张鸿雁博士均为瑞典籍。
资料显示,梁子才,本硕毕业于南开大学,后又拿到瑞典乌普萨拉大学生理真菌学博士学位,并选择在美国耶鲁大学分子生物物理与生物化学系担任研究员。在这个过程中,他曾参与创立3家与小核酸领域相关的公司。
1998年,梁子才开始建立专门研究小核酸的独立实验室。其团队在siRNA(小干扰核酸)的特异性和稳定性规律方面的科学研究,为业界深入了解小核酸打下重要基础。4年后,梁子才又在国家人类基因组北方研究中心,主持了中国小核酸技术领域的第一个863重点项目。
2006年,梁子才从瑞典回国,北京大学分子医学研究所向他抛来橄榄枝。由于双方关于核酸技术和产业转化的理念不谋而合,他随即选择加入。这期间,他不仅在该研究所建立了“核酸技术研究室”,还成为这个研究所的主任。
2007年,梁子才在苏州昆山创立瑞博生物,这也是中国最早的一批小核酸药物公司。
梁子才控制30%股权
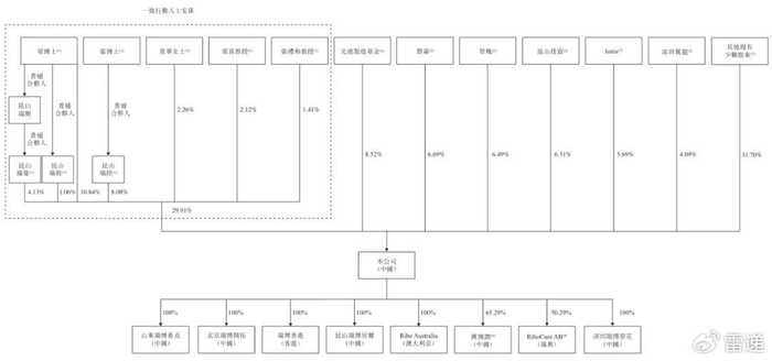
IPO前,梁子才博士拥有10.84%,昆山瑞控拥有8.08%,昆山瑞曼拥有4.13%,莫华女士拥有2.26%,席真教授拥有2.12%,张礼和教授拥有1.41%及昆山瑞技拥有1.06%权益,一共控制29.91%股权。

于2017年3月8日,梁博士、莫华女士、席真教授、张礼和教授、昆山瑞曼、昆山瑞技及昆山瑞控订立一致行动承诺(其经一致行动人士于2020年10月1日订立的补充协议进一步修订),以正式记录一致行动安排。
先进制造基金与三一是股东
此外,先进制造基金持股为8.52%,磐霖持股为6.69%(磐霖仟源持股为3.26%,磐霖旭康持股为0.88%,磐霖广慈持股为0.75%,磐霖悦生、磐陇投资分别持股为0.61%,磐霖鸿裕持股为0.58%),智魄持股为6.49%;
昆山投资持股为6.31%(小核酸研究所持股为2.4%,昆山高新创业持股为1.9%,昆山国科持股为1.4%,昆山工研持股为0.61%);Ionis持股为5.69%,深圳翼龙持股为4.69%,纪源源星持股为3.9%。
三一持股为3.03%(海河凯莱英基金持股1.45%,三一众志持股为0.65%,三一众志二期持股为0.4%,TrinityUCSF持股0.26%,TIF持股为0.27%),中金基金持股为2.29%(中金启德生物医药基金持股为1.56%,祺睿投资持股为0.73%)。
华润创投持股为1.59%,长三角投资持股为1.47%,刘国平持股为1.42%,嘉兴福通持股为1.4%,济南名信持股为1.39%,珠海骐恒持股为1.38%,酬勤投资持股为1.23%(温州酬勤持股为0.98%,酬勤天成持股为0.25%),联想投资持股为1.16%(联想之星持股为0.51%,无锡星锡持股为0.65%),众汇投资持股为1.05%(众汇银田持股为0.78%,嘉兴象田持股为0.27%),大榭允公持股为1.02%;
筑陆咨询持股为0.88%,启融创投持股为0.87%(启迪融创持股0.77%,珠海融谦持股为0.1%),朗玛创投持股为0.85%,王兴国持股为0.67%,博远汇智持股为0.63%,Rixir持股为0.61%,弘陶资本持股为0.59%;
ClaesRobert Wahlestedt、Joseph Wade Collard分别持股为0.53%,新苏融合持股为0.46%,蓝海投资持股为0.41%,双禺投资持股为0.4%,Worldstar Globa持股为0.37%,深圳欣创持股为0.3%,上海蓝石持股为0.29%,创源垣持股为0.28%,牟信健康持股为0.22%,陈之雅女士、李晓峰分别持股为0.2%,宓仲业持股为0.06%。

IPO后,梁子才博士及一致行动人一共控制24.82%股权,其中,梁子才博士持股为9%,昆山瑞控持股为6.71%,昆山瑞曼持股为3.42%,莫華女士持股为1.88%,席真教授持股为1.76%,張禮和教授持股为1.17%,昆山瑞技持股为0.88%。
先进制造基金持股为7.07%,磐霖持股为5.55%(磐霖仟源持股为2.71%,磐霖旭康持股为0.73%,磐霖广慈持股为0.62%,磐霖悦生、磐陇投资分别持股为0.51%,磐霖鸿裕持股为0.48%),智魄持股为5.39%;
昆山投资持股为5.24%(小核酸研究所持股为1.99%,昆山高新创业持股为1.58%,昆山国科持股为1.16%,昆山工研持股为0.5%);Ionis持股为4.72%,深圳翼龙持股为3.89%,纪源源星持股为3.24%。
三一持股为2.52%(海河凯莱英基金持股1.21%,三一众志持股为0.54%,三一众志二期持股为0.33%,TrinityUCSF持股0.21%,TIF持股为0.22%),中金基金持股为1.9%(中金启德生物医药基金持股为1.29%,祺睿投资持股为0.61%)。
华润创投持股为1.32%,长三角投资持股为1.22%,刘国平持股为1.17%,嘉兴福通持股为1.16%,济南名信、珠海骐恒分别持股为1.15%,酬勤投资持股为1.02%(温州酬勤持股为0.82%,酬勤天成持股为0.21%),联想投资持股为0.96%(联想之星持股为0.43%,无锡星锡持股为0.54%),众汇投资持股为0.87%(众汇银田持股为0.65%,嘉兴象田持股为0.23%),大榭允公持股为0.85%;
筑陆咨询持股为0.73%,启融创投持股为0.72%(启迪融创持股0.64%,珠海融谦持股为0.09%),朗玛创投持股为0.7%,王兴国持股为0.55%,博远汇智持股为0.52%,Rixir持股为0.5%,弘陶资本持股为0.49%;
ClaesRobert Wahlestedt、Joseph Wade Collard分别持股为0.44%,新苏融合持股为0.38%,蓝海投资、双禺投资分别持股为0.34%,Worldstar Globa持股为0.31%,深圳欣创持股为0.25%,上海蓝石、创源垣分别持股为0.24%,牟信健康持股为0.19%,陈之雅女士、李晓峰分别持股为0.17%,宓仲业持股为0.05%。
———————————————
雷递由媒体人雷建平创办,若转载请写明来源。
>>>查看更多:股市要闻