2026年1月5日,山证投资管理的山西省上市倍增股权投资基金正式完成对山西天宝科工股份有限公司(原山西天宝集团有限公司)的战略投资,签约仪式在天宝科工总部举行。
天宝科工位于“中国锻造之乡”定襄法兰专业镇,是国内风电法兰的龙头企业。天宝科工表示,此次完成股份改制并引入省级政府引导基金,不仅为公司补齐了资本化发展的资金短板,更将借助基金背后的资源整合优势,加速推进规范化治理与上市进程。
01、风电法兰巨头IPO迎新助力
此次被投资的天宝科工是国内专业从事风电法兰、压力容器法兰及大型锻件生产的领军企业之一。
天宝科工原名为山西天宝集团,成立于2008年1月,注册资本1.32亿元,位于“中国锻造之乡”山西省忻州市定襄县。所谓法兰,是管子与管子之间相互连接的零件,广泛用于机械装备、风力发电、石油化工等领域。

图源天宝科工官网
天宝集团是一家民营企业,创始人胡全喜曾任定襄县晋昌镇北关村党支部书记、村委主任。官网显示,天宝集团总资产达7.3亿元,年产能20万吨,是山西最大的法兰锻造企业,位居国内风电法兰锻造企业前三。
2021年,胡全喜之子胡大为开始执掌天宝集团,担任公司董事长。上任后,胡大为启动公司港股上市筹备工作,并推动实施“基于5G+云平台风力发电环锻件智能制造扩建项目”。该项目总投资2.23亿元,引入10米数控径轴向轧环机等先进设备,将产品最大直径从5米提升至10米,关键装备数控化率超80%,使公司风电法兰锻造达国内先进水平。
不过近来,天宝科工似有意转战北交所。2025年8月,山西省委金融办入企服务组一行赴忻州市开展企业上市培育专项服务活动,座谈会上,山西天宝集团等企业代表分享了上市规划及当前进展。北交所专家针对企业疑问,提出优化股权结构、完善合规体系等具体建议。
2025年12月17日,天宝集团已完成股份制改造,更名为天宝科工,创立大会由券商、会计师事务所、律师事务所等核心中介机构见证。而今,股份制改造完成不足一个月,天宝科工便获山西上市倍增股权投资基金的战略投资,上市进程有望加速。
02、山西法兰第一股会是谁?
山西上市倍增股权投资基金是山西省为落实《推进企业上市“倍增”计划》设立的省级政府引导基金,于2022年6月正式成立,总规模5亿元。基金由山证投资与山西黄河股权投资管理有限公司担任执行事务合伙人(联合管理人),山西金控集团、山西证券等省级国资平台主导发起,其中山证投资为山西证券全资子公司。
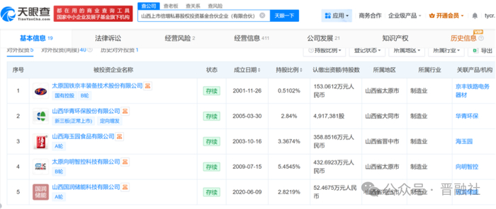
天眼查显示,除天宝科工,山西上市倍增股权投资基金已入股5家企业,被投企业大多为制造业企业,不乏一些企业已明确上市计划。

2023年11月,太原国铁京丰获大秦铁路、山西上市倍增股权投资基金等入股,次月公司完成股改并在证监会完成A股首发上市辅导备案,进入上市辅导阶段。太原国铁京丰是国家第七批制造业单项冠军企业,致力于解决铁路道岔转换技术 '卡脖子' 问题。
2024年2月,山西上市倍增基金入股太原向明智控科技有限公司,后者是一家专注于煤炭综采工作面智能化、无人化技术研发与销售的国家级专精特新'小巨人' 企业。
而今,山西上市倍增再度出手,首次入股法兰制造企业。天宝科工表示,公司将以此次参投为契机,加快推进上市筹备工作,持续加大研发投入,巩固行业领先地位,力争早日登陆资本市场。
不过,在最新的山西省重点上市后备企业名单中,暂无天宝科工的身影,而是另一家法兰制造企业——山西管家营法兰锻造股份有限公司(以下简称“管家营法兰锻造”)。

山西管家营法兰锻造股份有限公司
管家营法兰锻造与天宝科工同为国内法兰锻造巨头,不过前者聚焦石油化工领域,后者则聚焦风电领域。产能来看,管家营法兰锻造是5万吨/年,天宝科工则是20万吨每年。谁会成为山西法兰锻造第一股?
>>>查看更多:股市要闻