
作者 | 赵栀
编辑 |趣解商业资讯组
近日,江苏红豆实业股份有限公司(以下简称“红豆控股”)发布《关于控股股东股份被冻结的公告》,其控股股东红豆集团有限公司(下称“红豆集团”)及一致行动人所持大量股份被司法冻结、轮候冻结及司法标记。
当日,上交所就控股股东股份司法冻结事项向红豆股份下发监管工作函。

公告显示,公司控股股东持有本公司股份13.53亿股,占公司总股本的 59.03%;本次 8.60亿股被司法冻结,占其所持有公司股份总数的 63.60%,占公司总股本的 37.55%;24.62亿股被轮候冻结,占其所持有公司股份总数的 182.00%,占公司总股本的 107.44%。
红豆集团及其一致行动人周海江、无锡红闳服饰有限公司合计持有本公司股份 14.25亿股,占公司总股本的 62.17%。
其中,累计司法冻结8.78亿股,占持有公司股份总数的 61.63%,占公司总股本的 38.32%;累计司法标记 4.77亿股,占持有公司股份总数的 33.47%,占公司总股本的20.81%;司法冻结和司法标记合计13.55亿股,占持有公司股份总数的95.09%,占公司总股本的 59.12%。
值得注意的是,红豆集团累计轮候冻结28.22亿股,占持有公司股份总数的 208.62%,占公司总股本的 123.16%。周海江累计轮候冻结206.35万股,占持有公司股份总数的 4.54%,占公司总股本的 0.09%。
根据披露,红豆集团的股份冻结、标记及轮候冻结涉及多家法院,冻结原因均为涉诉,但红豆股份未披露具体诉讼细节。
红豆股份同时表示,公司与控股股东在资产、业务、财务等方面均保持独立,本次冻结事项不会对公司的生产经营、控制权、股权结构及公司治理产生重大影响,公司将持续关注事项进展并及时履行信息披露义务。
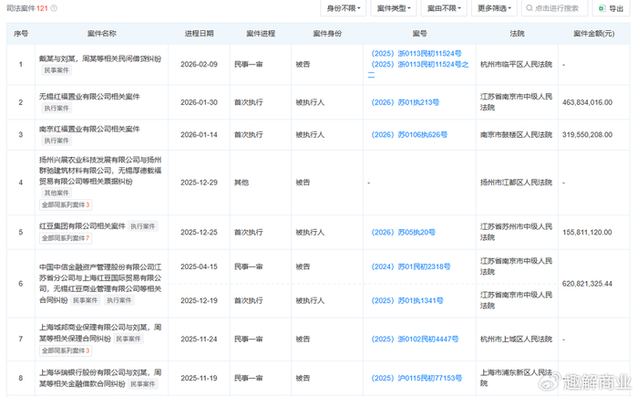
天眼查显示,红豆集团涉及的司法案件达121件,其中57.85%的案件身份为被告,涉及金额超20亿元。自2024年下半年以来,红豆集团及其多家关联公司频繁被列为被告,案由集中于金融借款合同纠纷、融资租赁合同纠纷、保理合同纠纷等,涉及多家银行、商业保理公司及小额贷款公司。

官网介绍,红豆集团初创于1957年,现有员工近3万名,产品从最初的针织内衣,发展到服装、轮胎、制药三个领域,居中国民营企业500强前列。集团有十多家子公司,包括两家主板上市公司——红豆股份(600400)、通用股份(601500,参股),新三板创新层挂牌企业——紫杉药业(873858)。
成立至今,红豆集团已历经三代。港下针织厂(即红豆集团前身)由周林森创办,1983年,周林森之子周耀庭任职港下针织厂,随后,在“二代”周耀庭的推动下,红豆集团及其控股子公司红豆股份相继成立。2017年1月,周耀庭因年龄原因辞去红豆集团董事局主席职务,由儿子周海江接任;2024年初,周耀庭将其持有的红豆集团股权全部分配给子女,彻底退出集团股权结构。
尽管业务版图广阔,红豆集团近年来的业绩仍面临压力。公开信息显示,2022年、2023年,红豆集团实现的营业收入分别为193.38亿元、234.91亿元,同比变动幅度为-4.36%、21.48%;归母净利润为-2.77亿元、-1.54亿元,连续2年亏损。截至2024年前三季度,集团资产负债率达67%,总负债371亿元,账上货币资金不足以覆盖有息负债,资金链压力较大。
而自2024年年度报告开始,红豆集团就再未完成审计及披露。所以,目前,红豆集团具体的经营和资金状况,无从得知。
近年来,红豆股份也曾尝试跨界,如房地产、新能源、物流等行业,但对业绩的提升不明显。
前不久,红豆控股发布了2025年度业绩预告,预计 2025 年年度归属于上市公司股东的净利润为-2.8亿元到-3.6 亿元;预计 2025 年年度归属于上市公司股东的扣除非经常性损益的净利润为-3.1亿元。

而2024年,法定披露数据下,红豆股份归属于上市公司股东的净利润约为-2.38亿元,归属于上市公司股东的扣除非经常性损益的净利润约为-2.85亿元,2025年亏损扩大。
红豆控股表示,业绩预亏的主要原因为主营业务影响、费用的影响、投资收益等。报告期内,受宏观经济环境、消费需求疲软及行业竞争激烈等因素影响,公司主营业务收入下降约 15%,下降金额约 3.7 亿元,主营业务成本下降约 10%,下降金额约 1.7 亿元,两者共计减少毛利额约 2亿元;报告期内,公司严控费用开支,销售费用、管理费用、研发费用同比减少约1.2亿元;报告期内,公司确认的投资收益同比减少约 2000万元。
近年来,红豆股份的品牌定位多次调整,从早期的“轻时尚男装”,到聚焦成熟客群的“三十而立 穿红豆男装”,再到发力高端市场的“经典舒适男装”,品牌定位频繁变动。在高端化转型过程中,未能形成可持续的竞争优势。
1月20日,红豆股份还披露了股东被动减持公告。公司控股股东的一致行动人兼董事周海江,因信用账户融资合约逾期,其持股将被万和证券“平仓”,计划减持数量不超过189.54万股,占公司总股本的0.08%,减持期间为2026年2月11日至5月10日。据悉,周海江此前已减持1262.05万股,套现约3026万元,叠加本次减持,累计套现将超3482万元。
目前,公司不仅面临业绩亏损、股东减持、控股股东股份冻结等挑战,第三方投诉平台上还存在多起产品质量及售后服务相关投诉。
黑猫投诉[下载黑猫投诉客户端]平台显示,截至2月10日,共有135条投诉中包含搜索词“红豆家纺”,投诉原因包括电热毯有瑕疵、羊毛褥子掉毛严重、标注优等品到货为合格品等。
2025年12月30日,一位消费者投诉称,“色差严重就算了,后面一看品质也是虚假宣传,挂羊头卖狗肉!标注的优等品,到货却是合格品,根本不是一个级别的”。

不过,面对挑战,红豆股份也在积极寻找突破方法。2025年10月,红豆股份宣布,拟以4.85亿元收购关联方红豆居家线上业务资产组。这一举措被视为其突破男装局限、拓展舒适服饰品类的重要战略布局。此外,红豆股份还在上海、江苏、浙江、山东、安徽、河北、江西、甘肃等多个省市布局了“舒适红豆店”,用以快速提升顾客沉浸式购物体验。
红豆的积极探索,有望为其未来带来新的增长和发展空间。
>>>查看更多:股市要闻