界面新闻记者 |袁颖琪、牛其昌
界面新闻编辑 |陈菲遐、宋烨珺
作为海澜之家、森马服饰的羽绒供应商,古麒绒材(001390.SZ)在营收净利双增表象下,出现净利润增长但经营现金流净流出的极端背离。
此外,这家公司的供应商看似也藏着秘密。近日,界面新闻记者实地探访多家供应商所在地,发现曾有参保人数为零的供应商向上市公司供应千万级的原材料,亦有承接采购额度大幅激增的“变身”供应商。
供应商之谜
古麒绒材立足于“中国羽绒之乡”,宣称已打造成熟的羽绒材料供应链体系,与核心供应商建立战略合作以稳定原材料供应。但界面新闻记者穿透核查发现,古麒绒材多家核心供应商工商信息与数千万级交易规模严重脱节。
其中,南陵安明羽绒有限公司(下称“安明羽绒”)成立于2017年,注册资本500万元、实缴资本500万元,参保人数持续为零,主要人员3人。

图片来源:天眼查APP
古麒绒材将安明羽绒列为稳定合作伙伴,2021至2023年年均向后者采购超7000万元,2024年则有超5700万元的采购体量。这样的采购规模相当于一家中型羽绒加工企业的全年营收体量。
图片来源:Wind、界面新闻研究部“羽绒加工属于典型的重资产行业,绝非‘小作坊’可承接。正常情况下,一家能稳定供应数千万级羽绒的企业,必须具备羽毛清洗、分毛、消毒等完整生产线,仓储物流投入巨大,仅生产环节的一线员工、技术人员、管理人员,参保人数就通常不低于20人。”从事羽绒行业供应链咨询的张磊对界面新闻记者表示,羽绒原料成本占羽绒制品总成本的30%至50%,核心供应商的产能与实力,直接决定采购的稳定性与产品质量,“参保人数为零、主要人员3人,意味着该主体几乎没有固定生产团队,根本不具备承接数千万级采购订单的履约能力”。
界面新闻记者还发现,安明羽绒实控人何德安旗下有一家已注销的“南陵德邦羽绒有限公司”,该公司的注册电话与古麒绒材注册电话系同一个。
一家无社保记录的“微型主体”,如何支撑起年产数千万元羽绒所需的清洗、分毛、消毒产线与仓储物流?市场有质疑声认为,其是空壳通道,为虚增采购或利益输送提供掩护。界面新闻记者就此联系古麒绒材,截至发稿未获回应。
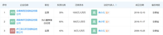
比“零人供应商”更值得警惕的,是关联供应商的“精准切换”。2021至2022年,南陵高祥羽绒制品有限公司(下称“高祥羽绒”)是古麒绒材第五大供应商,累计采购额约2800万元。2023年,高祥羽绒退出供应商名录,由同一自然人高小军控股的安徽高翔羽绒制品有限公司(下称“高翔羽绒”)接替,当年采购额增至7000万元,跃升为古麒绒材第一大供应商。
天眼查显示,两家公司均为高小军投资的企业,属于同一控制下的关联方。而且,高祥羽绒参保人数同样为零。高翔羽绒于2020年完成股权变更,原股东退出后由高小军全资接手。这种“旧主体隐退、新关联方登场且交易额翻倍”的操作也引起市场关注。
图片来源:天眼查APP
图片来源:天眼查APP此外,界面新闻记者还发现,古麒绒材与安明羽绒、高祥羽绒曾有过“受托支付后资金退回”的转贷交易,相关款项总额为2450万元。该操作在财务审计中,属于典型的转贷行为。
图片来源:招股书安明羽绒去哪了?
带着诸多疑问,界面新闻记者对古麒绒材位于南陵县、无为市周边的多家主要供应商进行了实地探访。
天眼查APP显示,无论是安明羽绒还是高祥羽绒,其注册地均模糊显示为“芜湖市南陵县籍山镇县经济开发区”。不过,界面新闻记者在该开发区内多方打听寻找,并未找到上述两家公司的踪迹。
南陵县市场监管局相关工作人员对界面新闻记者表示,由于公司成立时间较早,当时营业执照的登记地址就是如此录入,内网系统与公开的信息是一致的,亦查不到两家公司的具体地址。“地址信息不会自动更新,除非企业主动向登记机关备案变更后才会修改,否则系统会维持原始的登记内容”。
对此,南陵县经开区管委会相关工作人员对界面新闻记者表示,作为供应方,安明羽绒可能就位于古麒羽绒的厂房内,“都是一个生产条线的,(古麒绒材)里面有厂房是多余的,前期羽绒粗加工处理的那个阶段,可能有对外租赁的运营公司,但具体是哪几家就不太清楚了”。
另据南陵县税务局相关工作人员对界面新闻记者表示,其通过与安明羽绒方面核实,“听对方的意思,公司应该就在古麒那边”。
图片来源:界面新闻记者拍摄“供应商租用上市公司的厂房进行生产,意味着其核心生产经营活动完全依赖古麒绒材提供的物理空间,这种‘厂中厂’模式,彻底模糊了双方交易的独立性。”张磊表示,“相当于供应商的生产环节由上市公司‘兜底’,双方已不是完全独立的合作关系,此时的采购交易定价是否公允、交易实质是否真实,都需要打一个大大的问号。”
根据古麒绒材招股说明书,安明羽绒、高祥羽绒确自2016年起曾向古麒绒材租赁生产场地,产生的房租收入在2020年至2022年分别为131.64万元、131.02万元和85.99万元。
彼时,古麒绒材强调其与两家供应商系“完全独立”经营,且厂房租赁协议已于 2022 年到期,到期后两家供应商租赁厂房完全停产并进行搬迁,且均已完成全部搬迁工作。但界面新闻从古麒绒材的保安处得知,安明羽绒一直租用公司的厂房生产,直到去年才搬走。
更加蹊跷的是,曾经稳居古麒绒材供应商前五,年采购金额超7000万元的安明羽绒,似乎从2024年下半年开始“销声匿迹”。
招股书显示,2024年上半年,安明羽绒还是古麒的第二大供应商(采购额3600万),但在截至2024年7月31日高于500万元的采购合同中,却看不到这家公司的身影。取而代之的供应商大都位于无为市周边甚至外省,古麒绒材所在的南陵县已经没有一家大型供应商。
图片来源:招股书安明羽绒去哪了?界面新闻向芜湖多家羽绒加工企业打探,但均回应称未听说过该公司。当地多位人士对界面新闻记者表示,古麒绒材在南陵县属于一家独大的存在。
高祥羽绒变身
界面新闻记者在无为市羽绒产业园探访发现,当地聚集了大大小小近20家羽绒行业企业,其中就包括古麒绒材的供应商高翔羽绒和安徽文翔羽绒制品有限公司(下称“文翔羽绒”)两家公司,相比上市公司所在的南陵县,这里的产业集聚优势更为明显。
界面新闻在现场发现,两家公司在园区内属于规模较大企业,其中高翔羽绒以鹅绒产品为主;而文翔羽绒资历更深,产线也更丰富,产品还包括羽毛球和饲料,两家公司实际员工人数均在50人左右。
当地多位羽绒行业业内人士对界面新闻表示,高祥羽绒实际就是高翔羽绒的前身,公司从南陵搬迁而来,距今大概已有三年多时间。据了解,该公司成立时间较晚(2017年左右),在业内属于后起之秀,但最近几年发展迅猛,规模不断扩张,如今在园区内扩建的新厂房已经投入使用。天眼查APP显示,高翔羽绒2024年营业收入4.35亿元。
从高翔羽绒落地无为的时间点来看,大致与2022年高祥羽绒搬离古麒绒材相吻合。
图片来源:界面新闻记者拍摄
图片来源:界面新闻记者拍摄
图片来源:界面新闻记者拍摄芜湖当地多位羽绒加工业内人士对界面新闻记者表示,羽绒加工实际上技术含量并不高,从上游原料绒到羽绒产品主要是水洗、分拣、拼堆三大步骤,后经打包直接卖给下游服装企业。在清洗过程中会产生异味和污水,因此羽绒加工企业必须办理经过环保验收,办理排污等相关手续。
不过,界面新闻在查询古麒绒材所有供应商信息后发现,几乎每家公司都有排污许可证,唯独安明羽绒和高祥羽绒两家公司不具备。
对此,芜湖市环保局审批科工作人员对界面新闻记者证实,排污证是羽绒加工企业必备的,而安明羽绒和高祥羽绒均未办理排污证。
那么,两家公司是否一直在古麒绒材公司内生产,并利用公司的排污设备达到环保验收?目前亦是待解的疑问。
预付账款流向
供应商问题之外,古麒绒材现金流的持续恶化也值得关注。
2023年,古麒绒材实现归母净利润1.22亿元,同比增长25.53%,但经营活动现金流量净额为-554.95万元,出现净利润增长与经营现金流净流出的极端背离。这一趋势在2025年进一步恶化:2025年一季报、中报、三季报的经营活动现金流净额分别为-8703.32万元、-1.43亿元、-2.19亿元,持续为负,且缺口不断扩大。2025年三季度,公司营收7.63亿元、净利润1.39亿元,利润与现金流的背离进一步加剧,意味着赚取的利润并未转化为实实在在的现金。
对于现金流与净利润的背离,古麒绒材给出的解释是:下游客户回款周期较长,而上游供应商付款周期较短,导致营运资金被大量占用。
“下游回款慢、上游付款快,确实可能导致现金流紧张,但这种紧张不会呈现持续恶化的趋势,更不会出现净利润大幅增长而现金流持续净流出的极端情况。”注册会计师王浩对界面新闻记者表示,“尤其是预付账款的异常激增,很难用正常经营逻辑解释——如果上游供应商付款周期短,企业无需支付大额预付款,反而应控制预付规模,减少资金占用。”
与现金流恶化相伴随的,是应收账款与预付账款的异常激增。2025年三季报显示,古麒绒材应收账款较期初激增82.64%,预付款项增长65.82%,而同期公司营收增速仅为0.3%,两项指标的增速远超营收增速,资金占用情况愈发严重。其中,预付账款自2023年末开始快速增长,较期初增长121.28%,至2025年三季度,预付账款余额已达2.57亿元,规模庞大。
更关键的是,这些大额预付账款的流向高度集中于存疑供应商——公司向安徽高翔等关联供应商、“零人供应商”支付了大额预付款,而这些供应商的经营规模与交易金额严重不匹配,无法证明其具备承接大额预付款的履约能力。
一个值得关注的细节是,2025年8月,古麒绒材修订《防范控股股东及关联方占用公司资金制度》。彼时,市场上关于其“预付账款异常、资金占用”的质疑已逐渐浮现,这份“制度补丁”恰好出台于质疑声起之后。
“上市企业修订内控管理制度,本是正常的合规优化,但如果是在相关质疑出现后才‘事后补位’,其前置防范功能就无从谈起”,王浩表示。
从现金流的持续恶化到应收预付的异常膨胀,古麒绒材财务数据呈现出多处悖论。这家公司的真实盈利能力究竟如何?
>>>查看更多:股市要闻