界面新闻记者 |赵晓娟
界面新闻编辑 |许悦
2026年1月28日,新疆本土乳企麦趣尔集团股份有限公司(股票代码:002719,下称“麦趣尔”)发布公告,称债权人广州市铭慧机械股份有限公司(下称“铭慧机械”)已向昌吉回族自治州中级人民法院申请对其进行破产清算。
一笔595.49万元的设备货款纠纷,让这家曾凭借“新疆网红牛奶”迅速蹿红的牛奶企业的财务危机再次展露。
此次引发破产清算申请的纠纷,源于麦趣尔与设备供应商铭慧机械的合作。根据双方签订的《固定资产(机械设备)合同》,麦趣尔此前向铭慧机械采购2台无菌纸包装柔性灌装机及配套设备,合同总金额850.7万元。公告显示,麦趣尔仅支付了30%货款(255.21万元),剩余595.49万元货款尚未支付,前期纠纷产生的诉讼费、违约金已进行账务处理。基于上述未付款项,铭慧机械向法院申请对麦趣尔进行破产清算。
但麦趣尔在公告中明确表示,截至2026年1月28日,公司尚未收到法院裁定,且已按规定提出异议,强调“目前生产经营活动正常,未达到《中华人民共和国企业破产法》规定的‘资产不足以清偿全部债务’或‘明显缺乏清偿能力’的法定条件”。
麦趣尔同时披露,公司已成立专项工作组,正积极与相关债权人沟通,统筹制定一揽子债务风险化解方案,试图从根本上改善财务状况。不过公告也提示风险:若法院最终受理破产清算申请,公司股票可能被深圳证券交易所实施退市风险警示,后续进展存在重大不确定性。

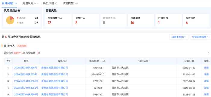
事实上,这并非麦趣尔首次面临债务压力。公开信息显示,截至2025年4月,麦趣尔连续12个月累计诉讼、仲裁案件达55件,涉案金额合计约8207.68万元;其控股股东麦趣尔集团所持股份因高比例质押,2023年至今已发生7次股权司法拍卖,其中2024年8月因与东方证券的质押式回购纠纷,控股股东所持2967.02万股被司法拍卖,涉及金额约4.8亿元。
自2025年7月以来,麦趣尔集团被执行的标的金额就达到4270万元。(截图自天眼查)而麦趣尔从声名鹊起到陷入债务危机也不过5年时间。
麦趣尔前身为新疆麦趣尔乳业有限公司,由山东人李玉瑚创立于2002年。在此之前,李玉瑚曾涉足饼干产品领域,但麦趣尔成立后乳业产品增长更快。公开报道显示,2003年麦趣尔的营收就突破了3亿元,不过此后的业绩趋于平缓。
界面新闻查询麦趣尔2020年之前10年业绩发现,在收购浙江新美心食品工业有限公司前后,麦趣尔营收从3.21亿元增长到2015年的5.18亿元,此后至2019年仍然在6.7亿元且净利润为亏损。
麦趣尔是2019年前后才从新疆本土走入全国消费者的视野。它的身上有两个标签,一个是小众地方奶,一个是直播间里头部主播们力推的好货。例如在社交平台小红书上麦趣尔被“封神”,这个地方牛奶因为小众、口感好、性价比高被KOL们不断推荐与讨论;而在头部主播带货里,他们不断念叨着麦趣尔来自“新疆天山牧场”、直供高端超市……
在2020年双11的天猫乳制品榜单上,麦趣尔排名第9位;2021天猫双十一乳饮品牌TOP5之中,也出现了麦趣尔的名字。而今年618,天猫液态奶常温乳制品品牌预售额TOP10中的第一名也是麦趣尔。
2020年疫情红利之下,麦趣尔的营收达到8.75亿元,净利润扭亏为盈,并在2021年营收达到史上最高的11.46亿元。
这一快速增长因2022年的丙二醇事件急转直下。
2022年6月,麦趣尔两批次纯牛奶被浙江省庆元县市场监管局发布食品抽检出含有丙二醇,按国家食品安全标准,纯牛奶中不得使用该成分。丙二醇事件让麦趣尔纯牛奶陷入信任危机,随后产品紧急下架召回,生产一度停滞。
两个月后,市场监管部门对麦趣尔作出行政处罚,没收违法所得36.02万元、没收全部不合格产品,并处罚款7315.10万元。
麦趣尔的产品在电商平台处于正常售卖的状态。(截图自麦趣尔抖音、天猫旗舰店)一名陕西的乳制品经销商表示,麦趣尔“一把好牌打得稀烂”,他告诉界面新闻,麦趣尔在疫情期间通过线上渠道大火,但是对于线下渠道的维护并不好,一味要求经销商压货,也看不上线下的新兴渠道,“有点急功近利,这样的企业做不大”。
眼下,乳制品竞争激烈,在已有的KA渠道,永辉、沃尔玛、盒马这些零售商已经非常娴熟地在低温和常温牛奶方面做出了差异化,甚至水牛奶这种小众品类也被开发了自有品牌,上述经销商告诉界面新闻,麦趣尔出事后,没有哪家企业会找他们定制产品了。
不过界面新闻查阅天猫、京东、抖音等线上购物平台看到,麦趣尔3.3g乳蛋白常温牛奶、3.6g乳蛋白儿童牛奶等产品仍在正常售卖发货,其中抖音平台销售量最高的一款产品为已售14.1万,售价25元左右,该款产品宣传语仍然重点提及“天山牧场、奶香浓郁”等奶源特色。
但麦趣尔的巨额亏损,是线上平台的销售无法弥补和扭转的。
麦趣尔2022-2024年及2025年前三季度的财务数据显示,麦趣尔实现营收分别为9.89亿元、7.09亿元、6.35亿元及4.63亿元,营收水平退回至10年前,净利润分别约为-3.51亿元、-9709.85万元、-2.30亿元及-3309.05万元,不到4年时间亏损超过7亿元,扭亏无望。
>>>查看更多:股市要闻