文 | 独角金融 郑理
作为国内首批互联网保险公司之一,安心财产保险有限责任公司(下称“安心财险”)“摊上事儿了”!
12月19日,国家金融监督管理总局网站披露信息显示,因未按照规定使用经批准或备案的保险条款、费率、保险理赔案件报送数据不真实等,被责令停止接受信用保证保险新业务36个月、停止接受短期建康保险新业务24个月、停止接受车辆保险新业务6个月。同时14名相关责任人被警告并罚款共计77万元;此外,对钟诚、王晖、李浩帆、黄胜、陈静5人分别禁止11年、10年、8年、6年、6年进入保险业。
此次安心财险多项核心业务被暂停,对相关责任人发出警告、罚款与长期禁业的组合惩戒,并非偶然,而是安心财险10年发展沉浮中,业务隐患、风控缺失等多重沉疴叠加的结果。
与此同时,苏州国资牵头组建的东吴财险2025年3月获批开业,被市场视为承接安心财险风险、重启业务的关键载体,一场救赎行动已悄然开启。
1、三大业务被叫停,5名核心高管遭禁业
此次被重罚,安心财险主要存在两大核心违规问题:一是未按照规定使用经批准或备案的保险条款、费率。根据《保险法》相关规定,保险公司在销售任何保险产品时,必须将其条款和费率报送监管机构批准或备案,获批后才能上市销售。
而安心财险擅自修改已备案产品的核心要素,这种行为不仅扰乱市场秩序,违背保险产品公平合规原则,也可能导致消费者实际购买的保险产品与监管备案、公司承诺的产品存在差异。
二是保险理赔案件报送数据不真实。这意味着安心财险报送的理赔数据与其实际发生的理赔数据不一致,可能涉及虚报、瞒报或篡改理赔案件数量、金额、处理时效等关键信息。
上述问题行为均属于保险业重点整治的沉疴顽疾,此前已有多家机构因类似问题受到监管处罚。
同时,监管部门对14名相关责任人实施追责警告处罚总计77万元。14名相关责任人分别为韩刚(法定代表人、董事长)、陈静(时任副总裁)、张怡锴(时任总裁助理)、陈国正(时任总裁助理)、李浩帆、王莹、王宏、张为、王海东、杜毓淇、蒋安全、邢平、刘永鹏、吴华男。
上述被罚人员中,韩刚自2019年11月正式履职安心财险法定代表人、董事长。韩刚1972年6月出生,本科毕业于南京理工大学获得工学学士学位。此后在中国人民大学获得工商管理硕士学位。曾于中国兵工物资天津公司、中共天津市委工业工委任职,并曾先后担任中诚信财务顾问有限公司、青海华鼎股份有限公司、中国亚布力阳光度假村、中诚信投资集团有限公司高管,以及安心财险董事、临时负责人。
根据2024年3季度安心财险披露的偿付能力报告,韩刚担任安心致远保险代理有限责任公司执行董事、新亚雪度假村管理咨询(北京)有限公司等公司董事,中诚信认证(北京)有限公司等公司监事。
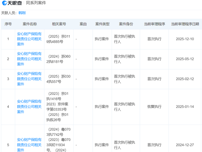
天眼查信息显示,一年的时间,韩刚与公司5次成为被执行人,并限制高消费,最新一次发生在12月10日,执行标的金额为50.92万元。

图源:天眼查更严厉的是,对5人包括时任总裁钟诚、合规负责人王晖、李浩帆、原董事长黄胜、时任副总裁及首席风险官陈静分别处以11年、10年、8年、6年、6年禁业措施。
图源:国家金融监督管理总局网站钟诚禁业时间最长,达11年。安心财险初创期,钟诚便担任公司总裁一职,是公司的首任总裁,2018年下半年离职。即便离职较早,但仍因对公司早期合规管理负有领导责任被追责。
被禁业6年的黄胜,1969年8月出生,本科毕业于武汉大学,获经济学学士学位,后来在美国罗斯福大学获得工商管理硕士学位,又在武汉大学拿下管理学博士学位。
自2016年2月-2019年6月,黄胜担任安心财险董事长,也是公司首任董事长。离职后,由韩刚接任其职务。加入公司前,黄胜曾在中国人民银行外汇管理局任职,并先后担任北京证券、国联证券、华安证券等多家券商高管职务,北京通宇世纪科技有限公司董事长,公司筹备组组长、临时负责人职务。
被禁业10年的王晖,1991年毕业于北京大学法律系,1998年开始律师执业,曾任北京君合律师事务所专职律师、北京雷杰展达律师事务所专职律师及公司高级合伙人,并且通过保险法规及相关知识测试以及具有律师执业资格和技术职称,对法律、保险等方面较为擅长和专业。
时任副总裁陈静被禁业6年,2004年其毕业于伦敦城市大学,主修风险管理专业,获得硕士学位。未加入公司前的2007年至2015年,陈静在国寿财险履职,担任责任保险部高级经理。2015年11月担任公司首席风险官,自2016年2月出任副总裁。根据公司披露的偿付能力报告,从2020年第四季度开始,陈静辞去副总裁职务。
李浩帆在安心财险担任的职位不详,根据2017年4月一篇媒体报道:安心财险李浩帆认为,信用体系对保险的促进作用体现在以下几个方面:第一消除销售误导与欺诈,促进行业的健康发展,第二提升风险控制的能力实现多维定价,第三让保险更简单。由此猜测其应该是信用保险相关负责人,对该业务违规负有责任。
2、从互联网保险的追风者到激进扩张下的隐患
安心财险的崛起与陨落,都与其激进策略紧密相关。
2015年,保险业吹响线上化转型的号角。当年6月,原保监会为助推行业变革,批筹三家专业互联网保险公司,安心财险与泰康在线、易安财险一同跻身首批行列;叠加2013年已抢先开业的众安在线,国内四大专业互联网保险“先行者”正式集结。
2015年12月,安心财险在北京正式营业,初始注册资本10亿元,剑指“用互联网技术重构保险服务,让保障更简单直接”的创新赛道。
但与同期“含着金汤匙出生”的同行相比,众安在线有阿里、腾讯、平安等巨头背书,泰康在线背靠泰康集团的全产业链资源,而安心财险既无头部企业领航,股权高度分散,缺乏能持续输血、整合资源的核心股东,这为其日后的经营隐患埋下了伏笔。
成立之初,公司第一大股东为北京玺萌置业有限公司(下称'玺萌置业'),持股比例为15%。该股东被业界视为“明天系”早年的干将之一,当年曾是太平洋证券名义上的第一大股东。除了太平洋证券外,玺萌置业还曾握有格林期货、山西证券等金融牌照,后来格林期货、山西证券纷纷由国资控股。
股权结构在2018年第四季度迎来关键变化。这一年第四季度开始,中诚信投资集团有限公司成为其第一大股东,持股比例33.07%。玺萌置业成为其第二大股东,持股比例降至11.67%。第三大、第四大股东分别为北京洪海明珠软件科技有限公司、北京通宇世纪科技有限公司,持股比例相同,均为11.284%。
图源:公司2024年三季度偿付能力报告开业之初,安心财险以互联网车险与健康险赛道为主,并率先提出“全国理赔一张网”,然而面对车商费改,大型险企巨头竞争,中小险企突围艰难,之后公司加码责任险、保证险。
开业后的2016年-2019年,安心财险保险原保费收入分别为0.75亿元、7.95亿元、15.3亿元、27.21亿元,四年间保费规模扩张近36倍;但净利润连续亏损,期间净利润分别为-0.73亿元、-2.99亿元、-4.95亿元、-1.06亿元,4年合计亏损9.73亿元。而手续费及佣金支出的涨幅,远超保费涨幅,2018年为1.85亿,2019年增至8.9亿元,涨幅381.08%。
让安心财险陷入困境的时间点是在2017年。作为数量稀缺的互联网险企,安心财险成立后的2016年,偿付能力充足率达1574.39%,却在2017年下滑至369.95%,2018年下滑至240.79%、2019年降至123.45%。
剧烈变化与“踩雷”P2P平台米缸金融有一定关系。2017年7月,安心财险与米缸金融达成履约保证保险合作,并表示未来米缸金融将推出底层债权由安心互联网保险提供履约保证保险服务的定期理财产品。
2018年8月,米缸金融出现大面积逾期。安心财险也面临巨额赔付压力。截至2019年12月31日,安心财险会计准则下再保后未到期责任准备金2.49亿元,再保后未决赔款准备金3.53亿元。
2020三季度银保监会的《监管函》也明确要求:安心保险管理层应当认真分析准备金评估出现不利发展的原因,对信用保证保险业务准备金的评估方法和精算假设的合理性进行分析,并制定详细的整改方案等。
不过从偿付能力充足率来看,2019年安心财险还处于达标状态。进入2020年后,其偿付能力充足率“急转直下”,当年末核心及综合偿付能力充足率均为-175.83%。彼时,安心财险表示,公司当前实际资本和净资产已均为负值,亟须通过增资改善偿付能力充足率情况。2021年再次下降至-360.65%。
为摆脱困境,安心财险多次尝试增资补血,但收效甚微。仅2018年的增资计划成功落地,引入中诚信投资集团2.85亿元资金;2020年和2021年,公司先后计划引入正大制药、江苏华远投资集团等新投资者,但两次增资方案均未获得监管批准。
增资失败导致公司财务状况持续恶化,净资产从2020年起由正转负,陷入资不抵债境地。
安心财险最新的偿付能力报告停留在2024年三季度,当年三季度实现保险业务收入-93.4元,净利润-1322.47万元,成立以来的累计亏损逾20亿元,累计净资产缺口扩大至-7.35亿元,核心及综合偿付能力充足率进一步跌至-871.59%,偿付能力严重不足,同年一季度、第二季度的风险综合评级结果均被评为D类。
图源:公司2024年三季度偿付能力报告从“互联网明星”到偿付能力充足率、净资产纷纷为负,安心财险只用了七年,它的境遇,也折射出互联网险企在风险防控、公司治理、监管效能等层面的深层变革。
3、在阵痛中孕育“新生”
近年来,纠偏、化险成为保险业的一种“新常态”。苏州国资的强势入局,被业内普遍认为将成为安心财险风险处置的破局关键。
2024年3月,安心财险将注册地址从北京迁至江苏苏州,这一跨区域迁移动作,被市场普遍认为,苏州国资控股的东吴财险的设立和安心财险有着千丝线万缕的联系。
随后的2024年9月,金融监管总局正式批复同意苏州国际发展集团有限公司(下称“苏州国发集团”)筹建东吴财险,成为第90家财险公司。
2024年12月6日,金融监管总局发布的《关于强监管防风险促改革推动财险业高质量发展行动方案》提出,要丰富风险化解处置方式,鼓励财险公司兼并重组,支持有条件的机构“迁册化险”,运用市场化、法治化方式出清风险。对风险大、不具持续经营能力的财险机构,依法开展市场退出,研究相关配套政策。
2025年3月,东吴财险正式获批开业,注册资本20亿元,其股东阵容堪称“苏州国资天团”,11家股东中10家为苏州本土国企,仅协鑫能源科技股份有限公司一家民营企业。其中,苏州国发集团持股33%,苏州新城投资、苏州交通投资分别持股14.5%、12%。
苏州国发集团由苏州市财政局全资控股,旗下拥有东吴证券、苏州银行、东吴人寿等多项核心金融资产。
苏州国发总裁宋继峰担任东吴财险董事长,身兼保险监管和保险公司双重履历的东吴人寿副总裁夏卫新,担任东吴财险总裁。
图源:天眼查除此之外,监管部门批复同意东吴财险筹建5家分公司,分别为东吴财险江苏分公司、浙江分公司、上海分公司、安徽分公司、北京分公司。
业务层面,东吴财险的经营范围与安心财险高度契合,主要包括机动车保险、短期健康保险、信用保证保险等核心领域,为安心财险的存量业务的“无缝衔接”奠定基础。
不过,在当前激烈的保险竞争格局下,新成立的东吴财险挑战不容小觑。目前财险赛道头部效应突出,且占据大部分市场份额,新公司品牌影响力有限,盈利周期较长。已经扬帆起航的东吴财险,未来能否基于股东和地域优势寻找差异化战略模式,打造核心专业能力,构筑自身的护城河?拭目以待。
>>>查看更多:股市要闻