当前位置: 爱股网 > 股票新闻 > 正文

某HJT新军原董事长被限制高消费

时间:2026年03月16日 21:54

宝馨科技(002514)及其子公司安徽宝馨光能科技有限公司(简称“宝馨光能”)因跨界HJT电池片、组件而陷入债务和诉讼麻烦当中,不仅列入“被执行人”还被限制高消费。

工商信息平台显示,宝馨科技因未履行两笔合计约32万元的劳动仲裁案件而被法院列入“失信被执行人”,公司的法定代表人、董事长马琳有4条被限制高消费记录。

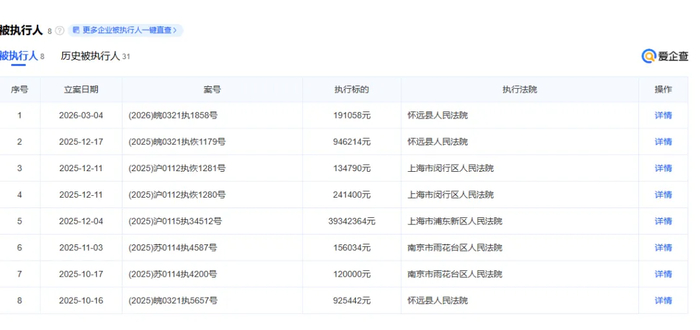
同时,宝馨光能有8条“被执行人”,法定代表人王思淇7次被限制高消费。

90后”王思淇曾于2021122日起至202456日担任宝馨科技董事长。20245月,董事会换届选举后,不再担任董事长、董事一职。退出上市公司管理层后,王思淇调任宝馨光伏能董事长,并担任法定代表人。

但卸任董事长后,王思淇因任期内经手的事务存在问题,与上市公司仍存在关联。

20248月,因宝馨科技实际亏损比业绩预告高1亿多,90后时任董事长王思淇被通报批评。2024127日,宝馨科技披露,2023年度归母净利-7000万元至-3500万元。

2024430日,公司披露的《2023年年度报告》显示,2023年度经审计净利润为-1.93亿元。

20241121日,宝馨科技还公告称,其原董事长王思淇和原副董事长兼总裁左越因未能履行前期的增持承诺,收到了江苏证监局的警示函。

202427日,王思淇和左越在《关于股份增持计划的告知函》中承诺,将在六个月内增持宝馨科技股份,增持金额不低于1000万元且不超过2000万元。然而,截至增持计划期限届满的202487日,二人均未增持宝馨科技股份,未完成上述增持计划。

另在鄂托克旗诚园绿能投资有限责任公司起诉宝馨科技一案中,王某淇作为内蒙古宝馨绿能新能源科技有限公司高管,存在协助将其注册资本金合计2.5129亿元金额转入宝馨科技账户的行为。

简历显示,王思淇,19903月出生,中国国籍,无境外永久居留权,本科学历。曾任中国建设银行徐州分行公司部客户经理,合肥美鑫智能制造有限公司执行董事兼总经理,淮北联茂电子科技有限公司董事长兼总经理,淮北康铭电子科技有限公司董事长兼总经理,淮北伯图智慧物流股份有限公司董事长兼总经理。

据公开信息,王思淇是所有A90后董事长中薪酬最低的一位,2021年年薪3.3万元。不过,其同时在关联单位领取薪酬,但具体数额无法查询。

[返回前页] [关闭本页]

热门新闻


    Warning: include(top.php): failed to open stream: No such file or directory in /www/wwwroot/igu888.com/stocknews/ggnews1.php on line 141

    Warning: include(): Failed opening 'top.php' for inclusion (include_path='.:/www/server/php/73/lib/php') in /www/wwwroot/igu888.com/stocknews/ggnews1.php on line 141

>>>查看更多:股市要闻