一失足成千古恨,再回首已凄凄惨惨。若能对当下的供需错配有半点儿敬畏、预判的话,相信仕净科技(301030)对跨界TOPCon电池、硅片一事定会悔不当初的。
这轮周期调整持续时间之长,调整的力度均远超过往历次调整,而卷入大洗牌惊涛骇浪的仕净科技,也被折腾的筋疲力尽,亏得也是面目全非。
在2024年归母净亏7.71亿元,扣非后净亏8.59亿元的基础上,仕净科技2025年非但没有减亏,反倒是净亏损额进一步扩大。
1月30日,仕净科技发布2025年业绩预告。其预计2025年归母净亏损7.7亿-9.7亿元,扣非后净亏损8.7亿-10.7亿元。可以看到,预亏的下限已与上年同期亏损额持平,预亏的下限则超过了上年同期水平。
以预亏业绩下限计算,仕净科技2024、2025年归母合计将亏15.41亿元,扣非后合计将亏17.29亿元。按上限估算,归母将净亏17.41亿元,扣非后将净亏19.29亿元。
仕净科技成立于2005年4月11日,2021年7月22日在深圳证券交易所上市。上市5年多来,仕净科2021-2023年均实现了盈利,对应财务年度归母净利分别为5818.86万元、9702.21万元和2.17亿元,扣非后净利分别为4567.96万、8928.94万元和2.37亿元,3年拢共盈利不足4亿元,结果2024年一把全亏进去了还不够。

分季度来看,仕净科技2025年业绩呈“高开低走”态势,Q1实现归母净利5289.06万元、扣非净利1588.9万元,Q2归母净亏-1.73亿、扣非净亏1.78亿元,Q3归母净亏1.05亿元、扣非净亏1.36亿元。

Q1、Q2、Q3合并起来,2025年前三季归母净亏2.26亿元,扣非后净亏2.98亿元。按照最新预亏业绩,仕净科技Q4单季归母预亏达4.44亿-6.44亿元,扣非后预亏达5.72亿-7.72亿元。
以归母后预亏下限来看,这个数字比前三季亏的还要高出2亿元,若看扣非后预亏上限7.72亿元,Q4单季的亏损额已与2024年全年归母净亏损额持平。
肉眼可见,仕净在Q4亏得特别猛,这势头就像跨界TOPCon电池之初上来就“梭哈”,投资112亿元在宁国投建24GW TOPCon电池。其中,一期投资75亿元规划产能18GW。

2024年,行业已明显转向,仕净科技仍逆周期扩产,斥资100亿元在四川资阳投建20GW电池片、20GW硅片项目。此外,仕净科技还准备在墨西哥投建电池片项目。
据2025年11月的一篇文章介绍称,仕净科技宁国基地在有序进行,墨西哥基地加速落地,形成了内外并举,环保+光伏协同发展的格局。
但这与仕净科技在2025年业绩中预告中关于业绩变动原因的表述存在明显矛盾。
其在公告中表示,公司大型光伏废气治理系统、机电系统项目订单量大幅下滑,主营业务收入未达预期。同时,公司电池片产品售价被迫下调,挤压毛利率,且对相关资产计提资产减值准备。
简单来看,仕净科技的光伏废气治理和光伏电池片业务都出现了疲软,相当于两块主营业务遭“双杀”。
更令人担忧的是,受持续大幅亏损拖累,仕净科技债务形势有明显恶化之势。
工商信息平台显示,就在刚刚,2026年2月5日,承德市双滦区人民法院将仕净科技列入“失信被执行人”。至此,这家TOPCon大黑马已3次被列为“失信被执行人”。

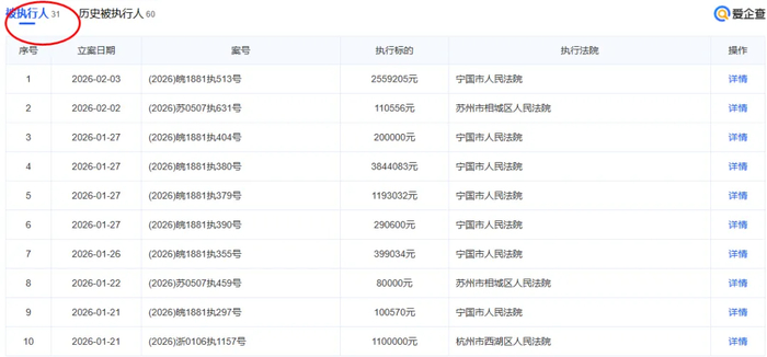
此外,仕净科技法定代表人、实际控制人、董事长有11条“限制高消费”记录,“被执行人”信息则有31条。2月3日,宁国市人民法院将仕净科技列入“被执行人”,执行标的2559205元。

三上“失信人”名单,还有31条“执行人”信息,表明仕净科技的债务纠纷增多,债务危机也在加剧。
跨界光伏后,仕净科技的负债率持续攀升,已远超70%的警戒线水平。截至2025年三季度末,公司资产负债率达90.85%,实控人近满仓质押手中股份。(草根光伏)
>>>查看更多:股市要闻