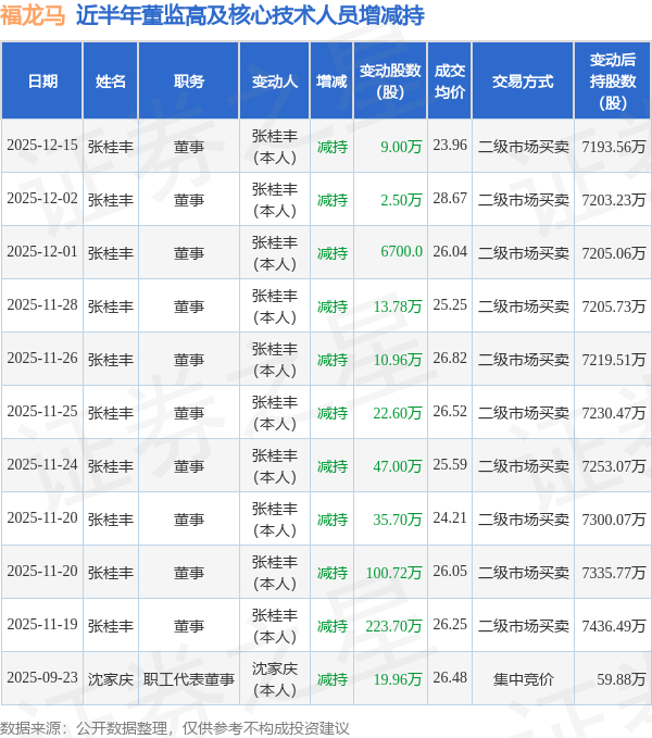
证券之星消息,根据12月16日市场公开信息、上市公司公告及交易所披露数据整理,福龙马(603686)最新董监高及相关人员股份变动情况:2025年12月15日公司董事张桂丰共减持公司股份9.0万股,占公司总股本为0.0217%。变动期间公司股价上涨0.41%,12月15日当日收盘报26.73元。
福龙马近半年内的董监高及核心技术人员增减持详情如下:

福龙马的高管列表及最新持股情况如下:

融资融券数据显示该股近5日融资净流出992.49万,融资余额减少;融券净流入0.0,融券余额增加。
该股最近90天内无机构评级。
以上内容为证券之星据公开信息整理,由AI算法生成(网信算备310104345710301240019号),不构成投资建议。
>>>查看更多:股市要闻