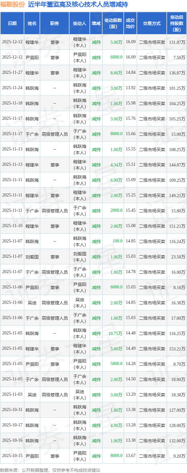
证券之星消息,根据12月15日市场公开信息、上市公司公告及交易所披露数据整理,福鞍股份(603315)最新董监高及相关人员股份变动情况:2025年12月12日公司董事穆建华、董事尹晨阳共减持公司股份5.6万股,占公司总股本为0.0175%。变动期间公司股价上涨7.93%,12月12日当日收盘报15.79元。
福鞍股份近半年内的董监高及核心技术人员增减持详情如下:

福鞍股份的高管列表及最新持股情况如下:

该股最近90天内无机构评级。
以上内容为证券之星据公开信息整理,由AI算法生成(网信算备310104345710301240019号),不构成投资建议。
>>>查看更多:股市要闻