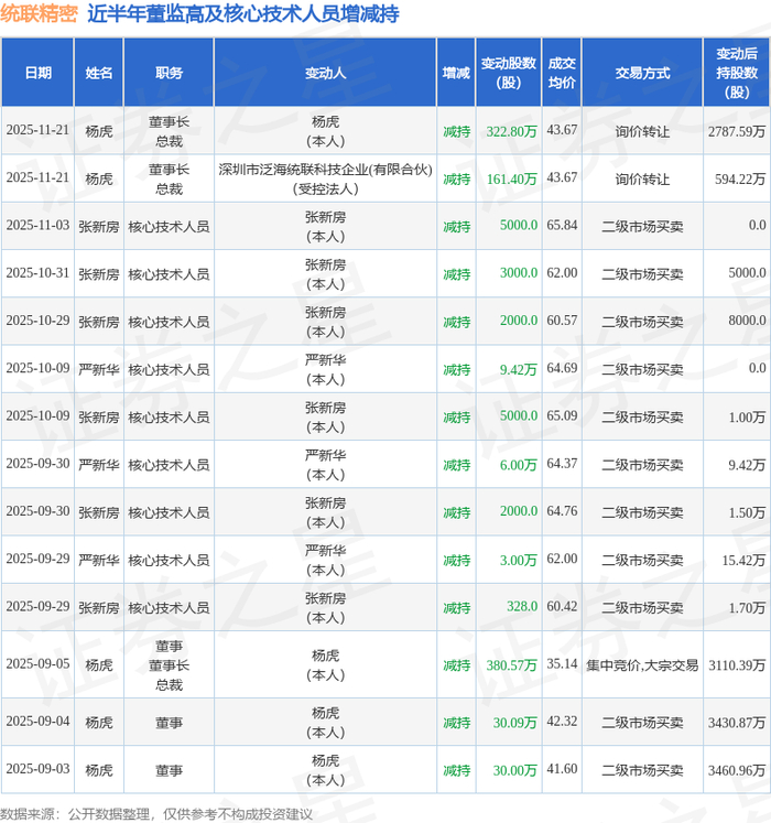
证券之星消息,根据11月21日市场公开信息、上市公司公告及交易所披露数据整理,统联精密(688210)最新董监高及相关人员股份变动情况:2025年11月21日公司董事长,总裁杨虎共减持公司股份484.19万股,占公司总股本为2.9915%。变动期间公司股价上涨2.87%,11月21日当日收盘报49.17元。
统联精密近半年内的董监高及核心技术人员增减持详情如下:

统联精密的高管列表及最新持股情况如下:

融资融券数据显示该股近5日融资净流出2041.27万,融资余额减少;融券净流入0.0,融券余额增加。
该股最近90天内共有4家机构给出评级,买入评级4家;过去90天内机构目标均价为80.5。
以上内容为证券之星据公开信息整理,由AI算法生成(网信算备310104345710301240019号),不构成投资建议。
>>>查看更多:股市要闻