爱股网
手机访问
|
DDX指标说明
|
综合选股
|
收藏本站
|
存到桌面
|
设为主页
首页
沪深DDE
上海DDE
深圳DDE
创业板
板块DDE
实时DDX
大盘DDE
超赢决策
资金在线
超赢数据
千股千评
机构评级
盈利预测
股票行情
F10资料
最新消息
限售解禁
概念题材
十大股东
财务分析
龙虎榜
资金流向
股吧
大盘BBD
新股申购
查询个股股吧交流
当前位置:
爱股网
>
股吧
> 【上交所上市公司2024年年报预约披露时
【上交所上市公司2024年年报预约披露时
用户:用户:财经客户端
时间:
2024年12月26日 15:37
[点击关闭本页]
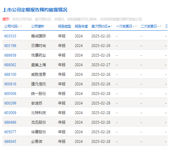
【上交所上市公司2024年年报预约披露时间出炉 嘉诚国际拔得头筹】上交所上市公司2024年年报预约披露时间出炉,嘉诚国际拔得头筹,将于2025年2月20日率先披露;日播时尚、悦康药业将于2月26日披露。
注:此文仅代表作者观点
↓
今日热门股票查询
↓
股票行情
超赢数据
实时DDX
资金流向
利润趋势
千股千评
业绩报告
大单资金
最新消息
龙虎榜
股吧
(600905)三峡能源
(000725)京东方A
(000100)TCL科技
(601919)中远海控
(000651)格力电器
(002594)比亚迪
(000615)奥园美谷
(601318)中国平安
(600519)贵州茅台
(600171)上海贝岭
(002475)立讯精密
(300059)东方财富
(300663)科蓝软件
(600031)三一重工
(600460)士兰微
(000625)长安汽车
(601665)齐鲁银行
(600030)中信证券
(002241)歌尔股份
(002466)天齐锂业
(601012)隆基股份
(601127)小康股份
(000158)常山北明
(601899)紫金矿业
(600744)华银电力
(000858)五粮液
(002617)露笑科技
(000063)中兴通讯
(300046)台基股份
(002129)中环股份
(600703)三安光电
(600702)舍得酒业
(002340)格林美
(300001)特锐德
(000966)长源电力
(600893)航发动力
(600010)包钢股份
(300184)力源信息
(605499)东鹏饮料
(002185)华天科技
(600585)海螺水泥
(600276)恒瑞医药
(600111)北方稀土
(002230)科大讯飞
(601857)中国石油
(300287)飞利信
(600584)长电科技
(688981)中芯国际
(002023)海特高新
(688621)阳光诺和
免责条款:本站所有文章、数据、图片均来自互联网或网友提供,仅供参考,广告均与本站无关!股市有风险,入市须谨慎!
爱股网
ddx查询
ddx指标
ddx即时在线更新
上海DDE
深圳DDE
创业板DDE
板块DDE
超赢截图
超赢决策
大盘BBD
股票行情
资金在线
板块资金
个股资金
实时选股
股票代码
copyright@2010 www.igu888.com
爱股网
提供技术支持